Например TDA7294

Форум РадиоКот • Просмотр темы - Радиоприемник из телевизора.
Форум РадиоКот
Здесь можно немножко помяукать :)

Текущее время: Чт окт 16, 2025 07:40:42

Часовой пояс: UTC + 3 часа


ПРЯМО СЕЙЧАС:



Начать новую тему Ответить на тему  [ Сообщений: 65 ]  1, , ,  
Автор Сообщение
Не в сети
 Заголовок сообщения: Радиоприемник из телевизора.
СообщениеДобавлено: Пн сен 26, 2011 11:25:35 
Опытный кот

Зарегистрирован: Вс апр 11, 2010 13:13:37
Сообщений: 811
Откуда: Брянск
Рейтинг сообщения: 0
Здравствуйте уважаемые Коты. Извиняюсь за глупое название темы но умнее выразиться не смог. Суть вопроса: у меян есть плата от чб телевизора союз 31-тб-407 на ней стоят селекторы каналов СК-М-24-2с, СК-д-24с и субмодуль канала СМРК-2-3, и есть готовый модуль фотон -7 (блок стереодекодеров и фильтров) Можно ли на базе этого без особых переделок ВЧ части схемы собрать стереоприемник на диапазон 64-108мгц?? Прошу сильно не пинать если высказал глупость. Схемы на все модули если надо выложу. Заранее спасибо


Вернуться наверх
 
Не в сети
 Заголовок сообщения: Re: Радиоприемник из телевизора.
СообщениеДобавлено: Пн сен 26, 2011 11:40:26 
Друг Кота
Аватар пользователя

Карма: 64
Рейтинг сообщений: 1099
Зарегистрирован: Ср ноя 17, 2010 23:10:55
Сообщений: 5837
Откуда: Ижевск LO66NU
Рейтинг сообщения: 0
СК-д-24с пойдет для приемника на 900МГц, остальное сгодится для ваших целей, но работы будет море и вид будет ужасен... :o

_________________
В начале жизнь мучает вопросами, в конце - ответами...


Вернуться наверх
 
Не в сети
 Заголовок сообщения: Re: Радиоприемник из телевизора.
СообщениеДобавлено: Пн сен 26, 2011 11:58:51 
Друг Кота
Аватар пользователя

Карма: 72
Рейтинг сообщений: 1153
Зарегистрирован: Чт ноя 20, 2008 04:20:48
Сообщений: 8066
Откуда: КурскЪ
Рейтинг сообщения: 0
А СКМ на 144мгц.

_________________
Принимаю вас 595+40db на уровне шумов на кухонный приёмник,антенна наружка-магнитная катушка..работает "Акация",вот такая информация.Роман.73!!!
"50 КСВ 075", UA3112SWL
Изображение


Вернуться наверх
 
Не в сети
 Заголовок сообщения: Re: Радиоприемник из телевизора.
СообщениеДобавлено: Пн сен 26, 2011 12:05:53 
Поставщик валерьянки для Кота

Карма: 1
Рейтинг сообщений: 149
Зарегистрирован: Пт дек 03, 2010 10:52:25
Сообщений: 2153
Рейтинг сообщения: 0
в СМРК-2-3 фильтры широкие - может получится так что будете слышать сразу 2 рядом расположеные радиостанции ну и массо габаритные показатели будут зашкаливать :))+необходим блок питания 12 в -12 в и 40 в
есть современые блочки тв тюнеров уже со встроеным цифровым управлением


Вернуться наверх
 
Эиком - электронные компоненты и радиодетали
Не в сети
 Заголовок сообщения: Re: Радиоприемник из телевизора.
СообщениеДобавлено: Пн сен 26, 2011 13:09:36 
Друг Кота
Аватар пользователя

Карма: 49
Рейтинг сообщений: 60
Зарегистрирован: Чт ноя 05, 2009 01:35:25
Сообщений: 5318
Откуда: Красноярский кр.
Рейтинг сообщения: 0
piligrim130 писал(а):
в СМРК-2-3 фильтры широкие - ........

Не в этом дело. В ТВ звук передается на поднесущей частоте (у нас 6,5 МГЦ). Поэтому, просто, соединив СКМ и СМРК, звука от ЧМ радиостанций мы не услышим, только звуковое сопровождение ТВ.


Вернуться наверх
 
Не в сети
 Заголовок сообщения: Re: Радиоприемник из телевизора.
СообщениеДобавлено: Пн сен 26, 2011 13:32:34 
Друг Кота
Аватар пользователя

Карма: 64
Рейтинг сообщений: 1099
Зарегистрирован: Ср ноя 17, 2010 23:10:55
Сообщений: 5837
Откуда: Ижевск LO66NU
Рейтинг сообщения: 0
А что, разве звуковое сопровождение не слышно на обычный тюнер?

_________________
В начале жизнь мучает вопросами, в конце - ответами...


Вернуться наверх
 
Не в сети
 Заголовок сообщения: Re: Радиоприемник из телевизора.
СообщениеДобавлено: Пн сен 26, 2011 13:42:13 
Модератор
Аватар пользователя

Карма: 158
Рейтинг сообщений: 1600
Зарегистрирован: Пт апр 28, 2006 15:26:07
Сообщений: 11940
Откуда: Россия.
Рейтинг сообщения: 0
Медали: 2
Мявтор 3-й степени (1) Лучший человек Форума 2017 (1)
viewtopic.php?p=561387#p561387

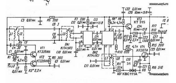
aen писал(а):
Я в давние времена делал вообще на советском СКМ-24 и таким УПЧ и все работало.

ж. Радио 2 1985 г

Изображение

В более новом ж. Радио была еще подобная схема на микросхемах 174ПС1 по моему.
Сейчас конечно такие уже не имеет смысла делать.
Этот УПЧ на частоту 31,5 мгц. Полоса с катушками небольшого размера получается около 1 мгц.

Или вот.
http://cxema.my1.ru/publ/radiosvjaz/rad ... 7-1-0-3377

Изображение


Вложения:
1.JPG [36.55 KiB]
Скачиваний: 1160
1.JPG [36.58 KiB]
Скачиваний: 23746


Последний раз редактировалось Алёша. Пн сен 26, 2011 13:44:13, всего редактировалось 1 раз.
Вернуться наверх
 
Не в сети
 Заголовок сообщения: Re: Радиоприемник из телевизора.
СообщениеДобавлено: Пн сен 26, 2011 13:43:46 
Друг Кота
Аватар пользователя

Карма: 49
Рейтинг сообщений: 60
Зарегистрирован: Чт ноя 05, 2009 01:35:25
Сообщений: 5318
Откуда: Красноярский кр.
Рейтинг сообщения: 0
svic писал(а):
А что, разве звуковое сопровождение не слышно на обычный тюнер?

Слышно конечно, но вот радиостанцию поймать на ТВ проблемотично.


Вернуться наверх
 
Не в сети
 Заголовок сообщения: Re: Радиоприемник из телевизора.
СообщениеДобавлено: Пн сен 26, 2011 15:24:12 
Модератор
Аватар пользователя

Карма: 162
Рейтинг сообщений: 2417
Зарегистрирован: Пн июл 07, 2008 10:46:09
Сообщений: 10733
Откуда: Россия
Рейтинг сообщения: 0
http://www.votshema.ru/53-vsevolnovyy-u ... emnik.html
http://radiogid.ucoz.ru/publ/skhemy/rad ... /7-1-0-704

_________________
Если хотите, чтобы жизнь улыбалась вам, подарите ей своё хорошее настроение


Вернуться наверх
 
Не в сети
 Заголовок сообщения: Re: Радиоприемник из телевизора.
СообщениеДобавлено: Пн сен 26, 2011 21:21:41 
Опытный кот

Зарегистрирован: Вс апр 11, 2010 13:13:37
Сообщений: 811
Откуда: Брянск
Рейтинг сообщения: 0
в общем из всего этого ценность имеют только ск-м и ск-д смрк не подойдет... вариант с цифровыми блокчками рассматривал просто это железо под рукой лежит и контроллеры шить не надо


Вернуться наверх
 
Не в сети
 Заголовок сообщения: Re: Радиоприемник из телевизора.
СообщениеДобавлено: Вт сен 27, 2011 13:26:04 
Говорящий с текстолитом
Аватар пользователя

Карма: 17
Рейтинг сообщений: 181
Зарегистрирован: Пт дек 12, 2008 21:12:14
Сообщений: 1604
Откуда: Moscow
Рейтинг сообщения: 0
Довольно любопытное направлнние, особенно в сельской местности когда род рукой ничего нет,достаточно
подобрать старый телевизор. Например из 3УСЦТ можно сделать не только приемник но и трансивер
радиолюбителя причем ничего больше не потребуется. Правда у разведчика Зорге была иная ситуация-
ему потребовалось купить только две радиолампы, остальное они сделали сами.

_________________
Еси хочешь чтоб комп был быстрым - ставь Пингвин,- он будет чистым


Вернуться наверх
 
Не в сети
 Заголовок сообщения: Re: Радиоприемник из телевизора.
СообщениеДобавлено: Вт сен 27, 2011 22:27:40 
Опытный кот

Зарегистрирован: Вс апр 11, 2010 13:13:37
Сообщений: 811
Откуда: Брянск
Рейтинг сообщения: 0
ну не сильно сельская местность... просто есть железо и его не жалко пустить под эксперементы цель которых больше приобрести опыт и получить навыки в ВЧ технике нежели собрать супер приемник который будет принимать сигналы из космоса... насколько я понял нужен модуль ПЧ после него можно поставить стереодекодер?? поправьте если не прав


Вернуться наверх
 
Не в сети
 Заголовок сообщения: радио приемник из блоков советских тв
СообщениеДобавлено: Пн июн 18, 2012 17:02:04 
Друг Кота
Аватар пользователя

Карма: 14
Рейтинг сообщений: 24
Зарегистрирован: Вт июн 28, 2011 12:11:50
Сообщений: 3443
Откуда: Россия,Ставропольский край, ст.Бекешевская
Рейтинг сообщения: 0
имеется скм 24-2с , скм30 , скд 30-1 , смрк 15/6 и вроде еще какойто , 4 свп , 2 унч из техже ящиков и динамики
какбы это все соеденить , чтобы ловило радио !
в смрк должен быть выход видео , это можно подключить к "желтому тюльпану" ?




Тема дубль.
Сюда перенес.

aen

_________________
Меня зовут Димон .
Изображение
Изображение


Вернуться наверх
 
Не в сети
 Заголовок сообщения: Re: Радиоприемник из телевизора.
СообщениеДобавлено: Пн июн 18, 2012 19:19:40 
Мучитель микросхем
Аватар пользователя

Карма: 1
Рейтинг сообщений: 5
Зарегистрирован: Вс янв 15, 2012 19:58:40
Сообщений: 454
Рейтинг сообщения: 0
Журналы радио вам нужны !!!
И желательно до 90х годов, и полистать былобы не плохо.
А просто так паяльником тыкать не очень хорошо.
Может опыт наберёте только не факт что тот который надо.

_________________
Ни один домашний кот незнает что он домашний.


Вернуться наверх
 
Не в сети
 Заголовок сообщения: Re: Радиоприемник из телевизора.
СообщениеДобавлено: Пн июн 18, 2012 21:14:09 
Мучитель микросхем

Карма: 14
Рейтинг сообщений: 125
Зарегистрирован: Ср янв 26, 2011 13:54:12
Сообщений: 478
Рейтинг сообщения: 0
rus084 писал(а):
имеется скм 24-2с , скм30 , скд 30-1 , смрк 15/6 и вроде еще какойто , 4 свп , 2 унч из техже ящиков и динамики
какбы это все соеденить , чтобы ловило радио !

Диапазоны СКМ:1-48,5-66МГц,2-76- 100МГц,3-174-230МГц,СКД-470-622Мгц.
Диапазоны радио:УКВ1-64-75Мгц,УКВ2-88-108МГц,любительский диапазон-144-146МГц,430-440МГц.
Какое радио вы хотите ловить?Диапазоны мягко говоря немного не совпадают.А про СМРКуже писали выше.Если уж что то делать,то на селекторе от импортного телевизора,там разрывов между диапазонами почти(или даже совсем)нет.


Вернуться наверх
 
Не в сети
 Заголовок сообщения: Re: Радиоприемник из телевизора.
СообщениеДобавлено: Пн июн 18, 2012 22:31:24 
Мучитель микросхем
Аватар пользователя

Карма: 1
Рейтинг сообщений: 5
Зарегистрирован: Вс янв 15, 2012 19:58:40
Сообщений: 454
Рейтинг сообщения: 0
++.
Ежели на выходе селектора каналов поставить ПЧ на 38(вроде) мегагерц, и с полосой примерно 100-200 килогерц, то получите приёмник от сих и до понедельника (примерно до 750мгц) на импортном селекторе.
Мало того в них очень хорошая АРУ можно даже слушать АМ модуляцию (только там её уже давно нет).
Есть в сети приёмники на этих селекторах.
Даже наверное на этом форуме.

_________________
Ни один домашний кот незнает что он домашний.


Вернуться наверх
 
Не в сети
 Заголовок сообщения: Re: Радиоприемник из телевизора.
СообщениеДобавлено: Пн июн 18, 2012 23:24:19 
Друг Кота
Аватар пользователя

Карма: 14
Рейтинг сообщений: 24
Зарегистрирован: Вт июн 28, 2011 12:11:50
Сообщений: 3443
Откуда: Россия,Ставропольский край, ст.Бекешевская
Рейтинг сообщения: 0
смрк это и есть пч , но с полосой 6.5мгц .

_________________
Меня зовут Димон .
Изображение
Изображение


Вернуться наверх
 
Не в сети
 Заголовок сообщения: Re: Радиоприемник из телевизора.
СообщениеДобавлено: Пн июн 18, 2012 23:44:57 
Модератор
Аватар пользователя

Карма: 158
Рейтинг сообщений: 1600
Зарегистрирован: Пт апр 28, 2006 15:26:07
Сообщений: 11940
Откуда: Россия.
Рейтинг сообщения: 0
Медали: 2
Мявтор 3-й степени (1) Лучший человек Форума 2017 (1)
Вам нужно почитать о структурных схемах телевизоров. Их строят по одноканальной схеме и по двухканальной. В основном делают по одноканальный где нельзя отделить канал звука и изображения, т.к. в нем промежуточная частота звука получается за счет биений несущей звука и несущей изображения, т.е. звук в нем без изображения работать не может.
Поэтому в данном случае одними блоками телевизора не обойтись.

Хотя конечно можно "изловчится" и подмешать в видеодетектор сигнал равный промежуточной частоте изображения, т.е. 38 МГц, но это не совсем хороший путь.


Вернуться наверх
 
Не в сети
 Заголовок сообщения: Re: Радиоприемник из телевизора.
СообщениеДобавлено: Вт июн 19, 2012 02:57:54 
Мучитель микросхем
Аватар пользователя

Карма: 1
Рейтинг сообщений: 5
Зарегистрирован: Вс янв 15, 2012 19:58:40
Сообщений: 454
Рейтинг сообщения: 0
Да нет может и звук и изображение отдельно приниматься.
На 38мгц идёт первая ПЧ, это канал изображения, а 6.5 мгц это канал звука.
Канал изображения промодулирован АМ, а канал звука ЧМ.
Эти два канала идут вместе АМ 38 и ЧМ 38-6.5=31.5.

_________________
Ни один домашний кот незнает что он домашний.


Вернуться наверх
 
Не в сети
 Заголовок сообщения: Re: Радиоприемник из телевизора.
СообщениеДобавлено: Вт июн 19, 2012 03:21:31 
Модератор
Аватар пользователя

Карма: 158
Рейтинг сообщений: 1600
Зарегистрирован: Пт апр 28, 2006 15:26:07
Сообщений: 11940
Откуда: Россия.
Рейтинг сообщения: 0
Медали: 2
Мявтор 3-й степени (1) Лучший человек Форума 2017 (1)
radiokot__ писал(а):
Да нет может и звук и изображение отдельно приниматься.
Конечно может, но я же написал, что тогда одними блоками от ТВ не обойтись. Тракт ЧМ придется самому делать, т.е. по сути отдельный тракт звука лепить.
Вы не мне подсказывайте, а автору. Я и сам прекрасно понимаю как звук принять, да и принимал, а точнее когда то делал телевизор по двухканальной схеме для дальнего приема. Было такое занятие годов сорок назад. Сейчас кабельным все "испоганили" и бедным радиолюбителям заняться нечем и они поголовно перешли клепать мигалки. :cry:


Вернуться наверх
 
Показать сообщения за:  Сортировать по:  Вернуться наверх
Начать новую тему Ответить на тему  [ Сообщений: 65 ]  1, , ,  

Часовой пояс: UTC + 3 часа


Кто сейчас на форуме

Сейчас этот форум просматривают: нет зарегистрированных пользователей и гости: 10


Вы не можете начинать темы
Вы не можете отвечать на сообщения
Вы не можете редактировать свои сообщения
Вы не можете удалять свои сообщения
Вы не можете добавлять вложения

Найти:
Перейти:  


Powered by phpBB © 2000, 2002, 2005, 2007 phpBB Group
Русская поддержка phpBB
Extended by Karma MOD © 2007—2012 m157y
Extended by Topic Tags MOD © 2012 m157y