Например TDA7294

Форум РадиоКот • Просмотр темы - Простые RC-генераторы.
Форум РадиоКот
Здесь можно немножко помяукать :)

Текущее время: Пн мар 16, 2026 02:53:32

Часовой пояс: UTC + 3 часа


ПРЯМО СЕЙЧАС:



Начать новую тему Ответить на тему  [ Сообщений: 148 ]     ... , , , 7,  
Автор Сообщение
 Заголовок сообщения: Re: Простые RC-генераторы.
СообщениеДобавлено: Вт сен 27, 2022 15:08:00 
Друг Кота
Аватар пользователя

Карма: 197
Рейтинг сообщений: 8652
Зарегистрирован: Пн ноя 30, 2009 03:00:01
Сообщений: 43595
Откуда: Нерезиновая
Рейтинг сообщения: 0
Частота на частотомере 23 кГц, пищалка из модема молчит.

А что вы хотите? 23 кГц это за пределами человеческого слуха!
https://ru.wikipedia.org/wiki/%D0%A1%D0%BB%D1%83%D1%85
Цитата:
Восприятие частотного диапазона 16 Гц — 20 кГц с возрастом изменяется — высокие частоты перестают восприниматься.

Наибольшая чувствительность у уха- 300 Гц ~ 3000 Гц.
Увеличьте ёмкость конденсаторов С1, С2, С3 в 10 раз- попадёте в слышимый диапазон- получите примерно 2,3 кГц..
И, всё-таки, я бы вам посоветовал (хотя бы попробовать) поставть резистор с базы VT1 на "землю" - такой вариант схемы обладает лучшей стабильностью.


Вернуться наверх
 
 Заголовок сообщения: Re: Простые RC-генераторы.
СообщениеДобавлено: Вт сен 27, 2022 21:22:00 
Нашел транзистор. Понюхал.
Аватар пользователя

Карма: 5
Рейтинг сообщений: -5
Зарегистрирован: Пн янв 13, 2020 21:48:25
Сообщений: 177
Рейтинг сообщения: 0
Замучился я с предыдущей схемой - собрал по схеме Борисова. Работает, но на выходе Т2 синусоида, а на динамике почему-то меандр амплитудой 2В.
Изображение

_________________
Встал на лапы - никак не прыгну.


Вернуться наверх
 
 Заголовок сообщения: Re: Простые RC-генераторы.
СообщениеДобавлено: Ср сен 28, 2022 09:00:37 
Вымогатель припоя

Зарегистрирован: Вс сен 10, 2006 00:04:03
Сообщений: 546
Рейтинг сообщения: 1
Замучился я с предыдущей схемой - собрал по схеме Борисова. Работает, но на выходе Т2 синусоида, а на динамике почему-то меандр амплитудой 2В.
Изображение

А вы рабочий режим VT3 подберите.Для начала - поставьте переменный резистор в его базу и ограничте сигнал.
Дальше - делитель в базу и подбирать режим.
А по хорошему - лучше нагрузить RC генератор на двухтактный выходной каскад - т.е выбросить VT3 , вставить два транзистора и убрать ступеньку.Тогда и трансформатор не понадобится и настроить проще


Вернуться наверх
 
 Заголовок сообщения: Re: Простые RC-генераторы.
СообщениеДобавлено: Ср сен 28, 2022 12:31:53 
Друг Кота
Аватар пользователя

Карма: 197
Рейтинг сообщений: 8652
Зарегистрирован: Пн ноя 30, 2009 03:00:01
Сообщений: 43595
Откуда: Нерезиновая
Рейтинг сообщения: 0
Topik писал(а):
собрал по схеме Борисова. Работает, но на выходе Т2 синусоида,

А какого размаха там синусоида?
Topik писал(а):
а на динамике почему-то меандр амплитудой 2В.

В зависимости от размаха синусоиды на базе VT3, у вас этот каскад усиливает по напряжению, а транзистор КТ972 - дарлингтон с коэффициентом усиления- >750, он эту синусоиду и усиливает в 750 раз- до ограничения.. Вот вам и меандр.

А амплитуда сигнала на динм\амике зависит от характеристик трансформатора.
Только ответьте, какого размаха синусоида на эмиттере VT2- от этого зависит, что можно предпринять дальше..

блин.. вы, почему-то, верите тем схемам, которые находите в сети, но не верите тому, что вам подсказывают.. :dont_know:


Вернуться наверх
 
Эиком - электронные компоненты и радиодетали
 Заголовок сообщения: Re: Простые RC-генераторы.
СообщениеДобавлено: Ср сен 28, 2022 13:48:42 
Нашел транзистор. Понюхал.
Аватар пользователя

Карма: 5
Рейтинг сообщений: -5
Зарегистрирован: Пн янв 13, 2020 21:48:25
Сообщений: 177
Рейтинг сообщения: 0
Синусоида размахом 2 В. Транс, по-моему, от радиоприемника ВЭФ.
Изображение

Добавлено after 38 minutes 36 seconds:
[quote="Topik"] транзистор КТ972 - дарлингтон с коэффициентом усиления- >750, он эту синусоиду и усиливает в 750 раз- до ограничения.. Вот вам и меандр.

Тестер показал h21э лишь 68 почему-то.
R7 поставил переменным 1,5 к.
Изображение
Независимо от положения движка на динамике импульсы, которые при максимуме переходят в указанный выше меандр.
Неужели вместо КТ972 придется подключать усилитель?
Изображение
Схема самопальная, неизвестно, будет ли работать. Проще прикрепить к генератору усилок с телека на К174уН7.
Изображение

_________________
Встал на лапы - никак не прыгну.


Последний раз редактировалось Topik Ср сен 28, 2022 14:58:20, всего редактировалось 5 раз(а).

Вернуться наверх
 
 Заголовок сообщения: Re: Простые RC-генераторы.
СообщениеДобавлено: Ср сен 28, 2022 13:55:35 
Друг Кота
Аватар пользователя

Карма: 182
Рейтинг сообщений: 8343
Зарегистрирован: Пт фев 04, 2011 17:57:51
Сообщений: 20133
Откуда: Рыбинск
Рейтинг сообщения: 1
Медали: 1
Лучший человек Форума 2017 (1)
Цепи отрицательной обратной связи (ООС) надо ставить, чтобы красивую синусоиду получить, и не только в выходной каскад.


Вернуться наверх
 
 Заголовок сообщения: Re: Простые RC-генераторы.
СообщениеДобавлено: Ср сен 28, 2022 16:26:04 
Друг Кота
Аватар пользователя

Карма: 197
Рейтинг сообщений: 8652
Зарегистрирован: Пн ноя 30, 2009 03:00:01
Сообщений: 43595
Откуда: Нерезиновая
Рейтинг сообщения: 0
Topik писал(а):
Тестер показал h21э лишь 68 почему-то.
R7 поставил переменным 1,5 к.

68 этого не может быть, потому, что, этого не может быть никогда, по даташиту у КТ972 ß должна быть не менее 750, иначе это уже не КТ972..
А КАКИМ ОБРАЗОМ вы подключили переменный резистор 1,5 кОм?
А вы подбирали R8 так, чтобы напряжение на коллекторе VT3 было равно половине напряжения питания?
(мне совсем не хочется объяснять вам, как работает транзистор в линейном режиме, и почему надо подбирать резистор в базе транзистора, чтобы этот режим работал правильно)
Вот здесь есть:
Смотреть "Режим А"
А у вас выходной каскад на VT3, как раз и работает в режиме "класс А"
Topik писал(а):
Независимо от положения движка на динамике импульсы, которые при максимуме переходят в указанный выше меандр.
Неужели вместо КТ972 придется подключать усилитель?
Это только потому, что у вас не настроен режим работы выходного каскада.


Вернуться наверх
 
 Заголовок сообщения: Re: Простые RC-генераторы.
СообщениеДобавлено: Ср сен 28, 2022 18:43:43 
Нашел транзистор. Понюхал.
Аватар пользователя

Карма: 5
Рейтинг сообщений: -5
Зарегистрирован: Пн янв 13, 2020 21:48:25
Сообщений: 177
Рейтинг сообщения: 0
Подключил выход Т2 к УМ1-3. Синусоида 2 В на входе в норме, а на динамиках всплески. Предел осциллографа 0,5 В. Может, на динамиках нельзя смотреть, т.к. влияет индуктивность катушки?
Изображение Изображение
Похоже, в УНЧ идет ограничение сигнала.
А насчет КТ972, возможно, в нем полетел один из транзисторов. Поэтому 68.

_________________
Встал на лапы - никак не прыгну.


Вернуться наверх
 
 Заголовок сообщения: Re: Простые RC-генераторы.
СообщениеДобавлено: Ср сен 28, 2022 19:46:02 
Сверлит текстолит когтями
Аватар пользователя

Карма: 6
Рейтинг сообщений: 231
Зарегистрирован: Пн ноя 08, 2021 13:12:57
Сообщений: 1228
Откуда: 58С 58В
Рейтинг сообщения: 0
Topik, ---влияет индуктивность катушки?---
Судя по осциллограмме гармоники чётные из за несимметричности усилителя.
---Неужели вместо КТ972 придется подключать усилитель?---
Резистор R8 подключить к коллектору транзистора
(простого, ток коллектора мА, чтобы не подмагничивать транс), будет ООСН хоть какая то.
Мощность ограничена трансом.
---Схема самопальная, неизвестно, будет ли работать.---
Будет , но ток потребления без транса больше. Можно динамик 50 Ом.

_________________
Свежий взгляд из прошлого тысячелетия.


Вернуться наверх
 
 Заголовок сообщения: Re: Простые RC-генераторы.
СообщениеДобавлено: Ср сен 28, 2022 20:00:50 
Друг Кота
Аватар пользователя

Карма: 197
Рейтинг сообщений: 8652
Зарегистрирован: Пн ноя 30, 2009 03:00:01
Сообщений: 43595
Откуда: Нерезиновая
Рейтинг сообщения: 0
Topik писал(а):
Подключил выход Т2 к УМ1-3. Синусоида 2 В на входе в норме, а на динамиках всплески.

Что, и на входе УМ1-3,
Изображение
и на выходе УМ1-3:
Изображение
почти одинаковая амплитуда сигнала?
Topik писал(а):
Предел осциллографа 0,5 В.

А какой у вас осциллорпаф?
Какое напряжение питания модуля УМ1-3?
174УН7 довольно склонная к самовозбуждению микросхема. :dont_know: Сейчас полно её "функциональных аналогов", которые работают значительно стабильнее..
А от чего вы питаете схему во время экспериментов?

зы..
Если у вас динамик лежит на столе именно так, как на фотке:
СпойлерИзображение

то, теоретически, он может искажать сигнал, хотя это и маловероятно..
Хотя- каких только чудес не бывает.. :dont_know:


Вернуться наверх
 
 Заголовок сообщения: Re: Простые RC-генераторы.
СообщениеДобавлено: Ср сен 28, 2022 20:51:24 
Нашел транзистор. Понюхал.
Аватар пользователя

Карма: 5
Рейтинг сообщений: -5
Зарегистрирован: Пн янв 13, 2020 21:48:25
Сообщений: 177
Рейтинг сообщения: 0
Осциллограф С1-55. Забыл поднять напряжение питания до 12. Стояло на 9 В. Блок питания от ноутбука ASUS, переделанный в регулируемый применением китайских модулей DC-DC.

_________________
Встал на лапы - никак не прыгну.


Вернуться наверх
 
 Заголовок сообщения: Re: Простые RC-генераторы.
СообщениеДобавлено: Ср сен 28, 2022 21:03:27 
Друг Кота
Аватар пользователя

Карма: 197
Рейтинг сообщений: 8652
Зарегистрирован: Пн ноя 30, 2009 03:00:01
Сообщений: 43595
Откуда: Нерезиновая
Рейтинг сообщения: 0
Topik писал(а):
Осциллограф С1-55. Забыл поднять напряжение питания до 12

Понятно..


Вернуться наверх
 
 Заголовок сообщения: Re: Простые RC-генераторы.
СообщениеДобавлено: Ср сен 28, 2022 21:20:51 
Нашел транзистор. Понюхал.
Аватар пользователя

Карма: 5
Рейтинг сообщений: -5
Зарегистрирован: Пн янв 13, 2020 21:48:25
Сообщений: 177
Рейтинг сообщения: 0
Поднял. Фигасе, ток больше 1 А! Осциллограф на пределе 2 В и 1 В.
Изображение Изображение Изображение
Динамик я подключил другой.
Изображение
Выпаял другой транзистор из пульта 3УСЦТ. Похоже, китайский тестер неправильно распознает составные транзисторы. Правда, на предыдущей пищалке стоит с 274.
Изображение

_________________
Встал на лапы - никак не прыгну.


Вернуться наверх
 
 Заголовок сообщения: Re: Простые RC-генераторы.
СообщениеДобавлено: Ср сен 28, 2022 23:13:00 
Друг Кота
Аватар пользователя

Карма: 197
Рейтинг сообщений: 8652
Зарегистрирован: Пн ноя 30, 2009 03:00:01
Сообщений: 43595
Откуда: Нерезиновая
Рейтинг сообщения: 0
Topik писал(а):
Выпаял другой транзистор из пульта 3УСЦТ. Похоже, китайский тестер неправильно распознает составные транзисторы.

Вам там, реально, составной транзистор не нужен, там "за глаза" хватит простого КТ805-го..
Если у него на базе будет размах сигнала в 2 вольта, то и КТ805 с его ß в 15, этот размах усилит до 30 вольт- (реально- упрётся в ограничение, связанное с напряжением питания)


Вернуться наверх
 
 Заголовок сообщения: Re: Простые RC-генераторы.
СообщениеДобавлено: Ср сен 28, 2022 23:24:11 
Нашел транзистор. Понюхал.
Аватар пользователя

Карма: 5
Рейтинг сообщений: -5
Зарегистрирован: Пн янв 13, 2020 21:48:25
Сообщений: 177
Рейтинг сообщения: 0
Вот он в работе при различных уровнях на входе. Макс. амплитуда 7 В. Буду менять на КТ805БМ.

Вот нашёл в сети.

_________________
Встал на лапы - никак не прыгну.


Вернуться наверх
 
 Заголовок сообщения: Re: Простые RC-генераторы.
СообщениеДобавлено: Чт сен 29, 2022 01:24:35 
Друг Кота
Аватар пользователя

Карма: 197
Рейтинг сообщений: 8652
Зарегистрирован: Пн ноя 30, 2009 03:00:01
Сообщений: 43595
Откуда: Нерезиновая
Рейтинг сообщения: 0
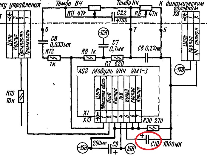
Кстати- (или не кстати, но, просто вопрос/замечание..
Вот схема модуля УМ1-3:
СпойлерИзображение

https://cxema.at.ua/um13/um-1-3.jpg
Вот схема подключения модуля, которая мне попалась в сети, и, которую вы, видимо, использовали:
http://radan.ucoz.ru/detali4/um-1-3-2.jpg
А вот схема подключения 174УН7:
http://www.chipinfo.ru/dsheets/ic/174/img/un7_4.gif
По сравнению со схемой модуля УМ1-3, здесь на одну деталь больше! Найдёте, какую?
Именно эта недостающая деталь, в телевизоре стоит на плате БОС телевизора УПИМЦТ, и без неё этот УНЧ нормально работать не должен.


Вернуться наверх
 
 Заголовок сообщения: Re: Простые RC-генераторы.
СообщениеДобавлено: Чт сен 29, 2022 02:43:06 
Нашел транзистор. Понюхал.
Аватар пользователя

Карма: 5
Рейтинг сообщений: -5
Зарегистрирован: Пн янв 13, 2020 21:48:25
Сообщений: 177
Рейтинг сообщения: 0
Наоборот, на 2 детали меньше!
Изображение

_________________
Встал на лапы - никак не прыгну.


Вернуться наверх
 
 Заголовок сообщения: Re: Простые RC-генераторы.
СообщениеДобавлено: Чт сен 29, 2022 02:53:33 
Друг Кота
Аватар пользователя

Карма: 197
Рейтинг сообщений: 8652
Зарегистрирован: Пн ноя 30, 2009 03:00:01
Сообщений: 43595
Откуда: Нерезиновая
Рейтинг сообщения: 0
Ну, это несущественно.. Самое главное, чего нет в модуле, но есть на схеме- ВЫХОДНОЙ электролит!
Изображение
А входной конденсатор- обычно стоит на выходе тембрблока.. :))


Вложения:
Схема подключения УМ1-3 в БОС УПИМЦТ-.jpg [130.94 KiB]
Скачиваний: 832
Вернуться наверх
 
 Заголовок сообщения: Re: Простые RC-генераторы.
СообщениеДобавлено: Чт сен 29, 2022 09:53:38 
Нашел транзистор. Понюхал.
Аватар пользователя

Карма: 5
Рейтинг сообщений: -5
Зарегистрирован: Пн янв 13, 2020 21:48:25
Сообщений: 177
Рейтинг сообщения: 0
Да-а! А я не проверил: поверил пацану...
А R30 тоже нет... А почему такое малое сопротивление идет на корпус? И почему этот конденсатор стоит плюсом по разному на схемах?

***
Итак, впаял BD243C с h21e 170 вместо КТ972 - сигнал на выходе появляется лишь при 12,5 В, и очень слабый, и тоже меандр.
Затем подключил без трансформатора - звук только при напряжении 7-8 В, слабый, но обрезанный сверху синус размахом 0,2 В. И это при входе 2 В. Странно.
Вывод: нужно подключать через нормальную схему усилителя мощности.
Изображение
Или
Изображение
Или
http://amplif.ru/845.gif
Или от Касьяна
Изображение

_________________
Встал на лапы - никак не прыгну.


Вернуться наверх
 
 Заголовок сообщения: Re: Простые RC-генераторы.
СообщениеДобавлено: Чт сен 29, 2022 13:01:22 
Друг Кота
Аватар пользователя

Карма: 197
Рейтинг сообщений: 8652
Зарегистрирован: Пн ноя 30, 2009 03:00:01
Сообщений: 43595
Откуда: Нерезиновая
Рейтинг сообщения: 0
Topik писал(а):
А R30 тоже нет... А почему такое малое сопротивление идет на корпус? И почему этот конденсатор стоит плюсом по разному на схемах?

На верхней схеме - неправильно..
R30 просто параллельно динамику, поэтому, 270 Ом для параллельно подключённой нагрузке в 4~8 Ом - можно считать, что его и нет :)))


Вернуться наверх
 
Показать сообщения за:  Сортировать по:  Вернуться наверх
Начать новую тему Ответить на тему  [ Сообщений: 148 ]     ... , , , 7,  

Часовой пояс: UTC + 3 часа


Вы не можете начинать темы
Вы не можете отвечать на сообщения
Вы не можете редактировать свои сообщения
Вы не можете удалять свои сообщения
Вы не можете добавлять вложения

Найти:
Перейти:  


Powered by phpBB © 2000, 2002, 2005, 2007 phpBB Group
Русская поддержка phpBB
Extended by Karma MOD © 2007—2012 m157y
Extended by Topic Tags MOD © 2012 m157y