Например TDA7294

Форум РадиоКот • Просмотр темы - Усилитель на К174УН7
Форум РадиоКот
Здесь можно немножко помяукать :)

Текущее время: Чт дек 25, 2025 00:47:06

Часовой пояс: UTC + 3 часа


ПРЯМО СЕЙЧАС:



Начать новую тему Ответить на тему  [ Сообщений: 729 ]  1, , , , ...  
Автор Сообщение
Не в сети
 Заголовок сообщения: Усилитель на К174УН7
СообщениеДобавлено: Чт мар 31, 2011 18:42:02 
Родился
Аватар пользователя

Зарегистрирован: Чт дек 02, 2010 13:08:24
Сообщений: 15
Рейтинг сообщения: 0
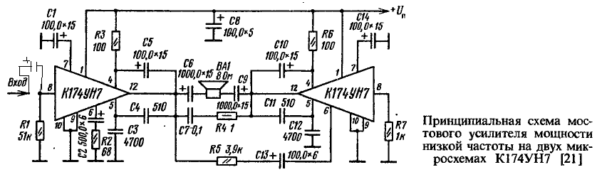
Собрал на этой микросхеме мостовой усилитель, по этой схеме, вроде все работает, напряжение на выходах одинаковое, но идут сильные шумы и искажения , особенно на басах. Подскажите что это может быть


Вложения:
174.png [39.84 KiB]
Скачиваний: 4497
Вернуться наверх
 
Не в сети
 Заголовок сообщения: Re: К174УН7
СообщениеДобавлено: Чт мар 31, 2011 18:46:51 
Сверлит текстолит когтями
Аватар пользователя

Зарегистрирован: Сб июл 11, 2009 18:42:21
Сообщений: 1135
Откуда: Украина, г.Николаев
Рейтинг сообщения: 0
на вход поставить проходной конденсатор(плюсом ко входу) 2.2-4.7мкФ. И выложи схему своего БП.

_________________
Успех - императив!


Вернуться наверх
 
Не в сети
 Заголовок сообщения: Re: К174УН7
СообщениеДобавлено: Чт мар 31, 2011 18:59:38 
Держит паяльник хвостом
Аватар пользователя

Зарегистрирован: Вт янв 19, 2010 21:39:45
Сообщений: 957
Откуда: Северодвинск
Рейтинг сообщения: 0
Питание какое???

_________________
Вот как-то так...


Вернуться наверх
 
Не в сети
 Заголовок сообщения: Re: К174УН7
СообщениеДобавлено: Чт мар 31, 2011 19:05:02 
Родился
Аватар пользователя

Зарегистрирован: Чт дек 02, 2010 13:08:24
Сообщений: 15
Рейтинг сообщения: 0
на входе стоит керамика 1мкф питание от старого компьютерного бп


Вернуться наверх
 
Эиком - электронные компоненты и радиодетали
Не в сети
 Заголовок сообщения: Re: К174УН7
СообщениеДобавлено: Чт мар 31, 2011 19:06:22 
Друг Кота
Аватар пользователя

Карма: 26
Рейтинг сообщений: 108
Зарегистрирован: Чт ноя 04, 2010 01:56:36
Сообщений: 7439
Откуда: г. Москва
Рейтинг сообщения: 0
ToXa34 писал(а):
Собрал на этой микросхеме мостовой усилитель, по этой схеме,

Охх, из каких же музеев вы их откапываете ?
А главное, зачем?


Вернуться наверх
 
Не в сети
 Заголовок сообщения: Re: К174УН7
СообщениеДобавлено: Чт мар 31, 2011 19:09:13 
Родился
Аватар пользователя

Зарегистрирован: Чт дек 02, 2010 13:08:24
Сообщений: 15
Рейтинг сообщения: 0
Satyr писал(а):
ToXa34 писал(а):
Собрал на этой микросхеме мостовой усилитель, по этой схеме,

Охх, из каких же музеев вы их откапываете ?
А главное, зачем?

в гараже порылся пять штук таких нашел :)) просто захотелось собрать и пощупать эти легендарные микросхемы


Вернуться наверх
 
Не в сети
 Заголовок сообщения: Re: К174УН7
СообщениеДобавлено: Чт мар 31, 2011 19:13:48 
Поставщик валерьянки для Кота

Карма: 2
Рейтинг сообщений: 2
Зарегистрирован: Чт июн 10, 2010 18:15:16
Сообщений: 2282
Откуда: Актюбинск
Рейтинг сообщения: 0
Может не хватает питания, может микры заливаются.


Вернуться наверх
 
Не в сети
 Заголовок сообщения: Re: К174УН7
СообщениеДобавлено: Чт мар 31, 2011 19:15:36 
Родился
Аватар пользователя

Зарегистрирован: Чт дек 02, 2010 13:08:24
Сообщений: 15
Рейтинг сообщения: 0
VanLux писал(а):
Может не хватает питания, может микры заливаются.

Я думаю хватает, этот бп выдает честных 12 вольт, а вот вторую фразу вашу я не понял


Вернуться наверх
 
Не в сети
 Заголовок сообщения: Re: К174УН7
СообщениеДобавлено: Чт мар 31, 2011 19:16:47 
Поставщик валерьянки для Кота

Карма: 2
Рейтинг сообщений: 2
Зарегистрирован: Чт июн 10, 2010 18:15:16
Сообщений: 2282
Откуда: Актюбинск
Рейтинг сообщения: 0
Ну это когда на вход подаёшь большой сигнал.


Вернуться наверх
 
Не в сети
 Заголовок сообщения: Re: К174УН7
СообщениеДобавлено: Чт мар 31, 2011 19:19:13 
Родился
Аватар пользователя

Зарегистрирован: Чт дек 02, 2010 13:08:24
Сообщений: 15
Рейтинг сообщения: 0
а, это тоже врят ли, я подаю с телефона, и пытался менять чувствительнсоть, не помогает


Вернуться наверх
 
Не в сети
 Заголовок сообщения: Re: К174УН7
СообщениеДобавлено: Чт мар 31, 2011 19:58:38 
Сверлит текстолит когтями
Аватар пользователя

Зарегистрирован: Сб июл 11, 2009 18:42:21
Сообщений: 1135
Откуда: Украина, г.Николаев
Рейтинг сообщения: 0
ToXa34
Цитата:
на входе стоит керамика 1мкф

Вот так?


Вложения:
174.png [28.21 KiB]
Скачиваний: 3107

_________________
Успех - императив!
Вернуться наверх
 
Не в сети
 Заголовок сообщения: Re: К174УН7
СообщениеДобавлено: Чт мар 31, 2011 20:09:49 
Друг Кота

Карма: 19
Рейтинг сообщений: 470
Зарегистрирован: Чт апр 29, 2010 07:39:15
Сообщений: 3227
Откуда: Молдова Бельцы
Рейтинг сообщения: 0
Здесь, проверенная неоднократно, схема включения К174УН7 в мост (первая) http://www.google.md/imgres?imgurl=http ... 2SOr2r_awH . Резисторы по входу можно увеличить до 100 кОм, чувствительность рулится изменением резисторов по 6 ноге (они должны быть одинаковые).


Вернуться наверх
 
Не в сети
 Заголовок сообщения: Re: К174УН7
СообщениеДобавлено: Чт мар 31, 2011 20:30:15 
Родился
Аватар пользователя

Зарегистрирован: Чт дек 02, 2010 13:08:24
Сообщений: 15
Рейтинг сообщения: 0
Roman Venom писал(а):
ToXa34
Цитата:
на входе стоит керамика 1мкф

Вот так?

ага


Вернуться наверх
 
Не в сети
 Заголовок сообщения: Re: К174УН7
СообщениеДобавлено: Чт мар 31, 2011 20:31:29 
Родился
Аватар пользователя

Зарегистрирован: Чт дек 02, 2010 13:08:24
Сообщений: 15
Рейтинг сообщения: 0
sergeisams писал(а):
Здесь, проверенная неоднократно, схема включения К174УН7 в мост (первая) http://www.google.md/imgres?imgurl=http ... 2SOr2r_awH . Резисторы по входу можно увеличить до 100 кОм, чувствительность рулится изменением резисторов по 6 ноге (они должны быть одинаковые).

эта схема отличается в некоторых местах сильно, мне новую печатку делать неохота, хочеться довести эту до ума


Вернуться наверх
 
Не в сети
 Заголовок сообщения: Re: К174УН7
СообщениеДобавлено: Чт мар 31, 2011 20:33:25 
Друг Кота

Карма: 19
Рейтинг сообщений: 470
Зарегистрирован: Чт апр 29, 2010 07:39:15
Сообщений: 3227
Откуда: Молдова Бельцы
Рейтинг сообщения: 0
ToXa34 писал(а):
хочеться довести эту до ума

А удастся ли ? :roll:


Вернуться наверх
 
Не в сети
 Заголовок сообщения: Re: К174УН7
СообщениеДобавлено: Чт мар 31, 2011 20:47:55 
Родился
Аватар пользователя

Зарегистрирован: Чт дек 02, 2010 13:08:24
Сообщений: 15
Рейтинг сообщения: 0
sergeisams писал(а):
ToXa34 писал(а):
хочеться довести эту до ума

А удастся ли ? :roll:

Возможно, тут вот тоже была тема, он делал по той же схеме и у него все норм играло viewtopic.php?f=1&p=655846


Вернуться наверх
 
Не в сети
 Заголовок сообщения: Re: К174УН7
СообщениеДобавлено: Пт апр 01, 2011 00:15:45 
Держит паяльник хвостом

Карма: 7
Рейтинг сообщений: 17
Зарегистрирован: Сб сен 11, 2010 17:32:42
Сообщений: 903
Рейтинг сообщения: 0
вторая микросхема - вход, так и должен быть посажен на землю без конденсаторов и прочего?

_________________
Не нужно дергать спящего тигра за усы! Не высыпается 3-ий день!


Вернуться наверх
 
Не в сети
 Заголовок сообщения: Re: К174УН7
СообщениеДобавлено: Пн апр 04, 2011 15:29:39 
Родился
Аватар пользователя

Зарегистрирован: Чт дек 02, 2010 13:08:24
Сообщений: 15
Рейтинг сообщения: 0
Всем спасибо, оказалось что это убитый микросхемы, собрал схему с улучшеными характеристиками , подбирал номиналы, всеравно хрипят


Вернуться наверх
 
Не в сети
 Заголовок сообщения: Re: К174УН7
СообщениеДобавлено: Ср июл 06, 2011 08:06:26 
Первый раз сказал Мяу!
Аватар пользователя

Зарегистрирован: Вт июн 29, 2010 10:50:24
Сообщений: 30
Рейтинг сообщения: 0
привет всем. не подскажите для чего нужен выход ос


Вложения:
1_3_740.jpg [162.75 KiB]
Скачиваний: 2582
Вернуться наверх
 
Не в сети
 Заголовок сообщения: Re: К174УН7
СообщениеДобавлено: Ср июл 06, 2011 09:03:00 
Модератор
Аватар пользователя

Карма: 162
Рейтинг сообщений: 2431
Зарегистрирован: Пн июл 07, 2008 10:46:09
Сообщений: 10736
Откуда: Россия
Рейтинг сообщения: -1
Этот вход предназначен для регулировки тембра в телевизоре. Смотрите схему телевизоров УПИМЦТ.

_________________
Если хотите, чтобы жизнь улыбалась вам, подарите ей своё хорошее настроение


Вернуться наверх
 
Показать сообщения за:  Сортировать по:  Вернуться наверх
Начать новую тему Ответить на тему  [ Сообщений: 729 ]  1, , , , ...  

Часовой пояс: UTC + 3 часа


Кто сейчас на форуме

Сейчас этот форум просматривают: нет зарегистрированных пользователей и гости: 39


Вы не можете начинать темы
Вы не можете отвечать на сообщения
Вы не можете редактировать свои сообщения
Вы не можете удалять свои сообщения
Вы не можете добавлять вложения

Найти:
Перейти:  


Powered by phpBB © 2000, 2002, 2005, 2007 phpBB Group
Русская поддержка phpBB
Extended by Karma MOD © 2007—2012 m157y
Extended by Topic Tags MOD © 2012 m157y