Например TDA7294

Форум РадиоКот • Просмотр темы - Мелкие вопросы по УНЧ.
Форум РадиоКот
Здесь можно немножко помяукать :)

Текущее время: Ср мар 11, 2026 19:55:41

Часовой пояс: UTC + 3 часа


ПРЯМО СЕЙЧАС:



Начать новую тему Ответить на тему  [ Сообщений: 13577 ]     ... , , , 672, , , ...  
Автор Сообщение
 Заголовок сообщения: Re: Мелкие вопросы по УНЧ.
СообщениеДобавлено: Пн дек 01, 2025 09:15:53 
Вымогатель припоя

Зарегистрирован: Пт май 20, 2022 12:28:46
Сообщений: 653
Рейтинг сообщения: 0
ИМХО. Эта схема чудовищно избыточна для наушников.
А если по сути вопроса, то да -- поверх резистора (хотя никто не мешает их разместить рядом)


Вернуться наверх
 
 Заголовок сообщения: Re: Мелкие вопросы по УНЧ.
СообщениеДобавлено: Вт дек 02, 2025 17:05:28 
Открыл глаза

Зарегистрирован: Сб июн 11, 2016 20:54:49
Сообщений: 75
Рейтинг сообщения: 0
Здравствуйте! Пожалуйста, ткните в инфо по УНЧ от УЛПТЦ, Нужна схема блока с УНЧ на К174УН7. Скачал справочник по УЛПТЦ, но там все очень сжато и блоки с УНЧ подробно не рассматриваются, а я хочу блок на К174УН7 встроить в компьютерную колонку.


Вернуться наверх
 
 Заголовок сообщения: Re: Мелкие вопросы по УНЧ.
СообщениеДобавлено: Вт дек 02, 2025 17:22:23 
Поставщик валерьянки для Кота
Аватар пользователя

Карма: 8
Рейтинг сообщений: 206
Зарегистрирован: Вт фев 21, 2017 18:59:21
Сообщений: 2308
Откуда: Седой Урал
Рейтинг сообщения: 0
.... УНЧ от УЛПТЦ, Нужна схема блока с УНЧ на К174УН7....


Найдите схему телевизора Славутич Ц202 - там подробно


Вернуться наверх
 
 Заголовок сообщения: Re: Мелкие вопросы по УНЧ.
СообщениеДобавлено: Вт дек 02, 2025 18:05:54 
Вымогатель припоя

Зарегистрирован: Пт май 20, 2022 12:28:46
Сообщений: 653
Рейтинг сообщения: 0
samand587, Поправлю немного.
телевизоры Ц20х (Ц202, Ц208) это УПИМЦТ, а Ц3хх и Ц4хх - это уже 3УСЦТ и 4УСЦТ соответственно.
в УПИМЦТ как правило использовался модуль УМ1-3.
вот схема
Изображение


а вот УЛПЦТ (это 7хх серия ламповых телеков без букв спереди) там использовались блоки БРК1 (2 или 3) но они или на лампах (БРК1) или на транзисторах (БРК2 и 3)
вот книга:https://djvu.online/download1/ESto0iAVbUtoU по этой серии телеков.


Вернуться наверх
 
Эиком - электронные компоненты и радиодетали
 Заголовок сообщения: Re: Мелкие вопросы по УНЧ.
СообщениеДобавлено: Вт дек 02, 2025 18:27:17 
Поставщик валерьянки для Кота
Аватар пользователя

Карма: 8
Рейтинг сообщений: 206
Зарегистрирован: Вт фев 21, 2017 18:59:21
Сообщений: 2308
Откуда: Седой Урал
Рейтинг сообщения: 0
....телевизоры Ц20х (Ц202, Ц208) это УПИМЦТ,....


Не раз ремонтировал Ц202 и поэтому посоветовал эту схему. Там усилитель на К174УН7 нарисован со всей развязкой.


Вернуться наверх
 
 Заголовок сообщения: Re: Мелкие вопросы по УНЧ.
СообщениеДобавлено: Вт дек 02, 2025 18:57:56 
Электрический кот

Карма: 2
Рейтинг сообщений: 127
Зарегистрирован: Пт ноя 22, 2024 14:08:43
Сообщений: 1062
Рейтинг сообщения: 0
На самом модуле нет электролита 1000 мкФ перед динамиком, можно его сюда добавить...
И стоит сделать защиту входа от тыкания куда попало...)))
Изображение


Вернуться наверх
 
 Заголовок сообщения: Re: Мелкие вопросы по УНЧ.
СообщениеДобавлено: Вт дек 02, 2025 21:07:07 
Открыл глаза

Зарегистрирован: Сб июн 11, 2016 20:54:49
Сообщений: 75
Рейтинг сообщения: 0
Благодарю за старания, но эта схема в справочнике есть (единственная) , а у меня блок с навороченной схемой на К174УН7, с регуляторами тембра, какими-то выходами, входами, куча деталей обвески, не свойственной для К174УН7. От какого-то "элитного" дебиловизора.


Вернуться наверх
 
 Заголовок сообщения: Re: Мелкие вопросы по УНЧ.
СообщениеДобавлено: Вт дек 02, 2025 21:46:10 
Электрический кот

Карма: 2
Рейтинг сообщений: 127
Зарегистрирован: Пт ноя 22, 2024 14:08:43
Сообщений: 1062
Рейтинг сообщения: 0
Yellowsp писал(а):
Нужна схема блока с УНЧ на К174УН7

Yellowsp писал(а):
а у меня блок с навороченной схемой на К174УН7, с регуляторами тембра, какими-то выходами, входами, куча деталей обвески, не свойственной для К174УН7.

так твоё дело задать вопрос так, чтобы было понятно, что ты хочешь....если сам не можешь прочитать на плате тип модуля, то хоть фото прикладывай, раз экслюзив (для тебя)...
на все отечественные тв схемы существовали
Yellowsp писал(а):
дебиловизора

чтобы соответствовало уровню потребителей.....)))))))


Вернуться наверх
 
 Заголовок сообщения: Re: Мелкие вопросы по УНЧ.
СообщениеДобавлено: Вт дек 02, 2025 23:36:27 
Друг Кота

Карма: 19
Рейтинг сообщений: 470
Зарегистрирован: Чт апр 29, 2010 07:39:15
Сообщений: 3228
Откуда: Молдова Бельцы
Рейтинг сообщения: 0
а у меня блок с навороченной схемой на К174УН7, с регуляторами тембра, какими-то выходами, входами, куча деталей обвески, не свойственной для К174УН7.

Уже не такая ли

Изображение


Вернуться наверх
 
 Заголовок сообщения: Re: Мелкие вопросы по УНЧ.
СообщениеДобавлено: Вт дек 02, 2025 23:41:58 
Вымогатель припоя

Зарегистрирован: Пт май 20, 2022 12:28:46
Сообщений: 653
Рейтинг сообщения: 0
Регулировка громкости и тембра уже была не на модуле а на плате регуля.
как и громкость. На моем старом Рубине Ц208 это было так
Изображение


Вернуться наверх
 
 Заголовок сообщения: Re: Мелкие вопросы по УНЧ.
СообщениеДобавлено: Ср дек 03, 2025 09:03:23 
Друг Кота
Аватар пользователя

Карма: 107
Рейтинг сообщений: 3841
Зарегистрирован: Пн фев 09, 2009 22:19:49
Сообщений: 25349
Откуда: Когда-то был прекрасный город для людей
Рейтинг сообщения: 0
Уж не такой ли - стояли на 3усцт. Если не ошибаюсь, то это рубиновский. Валяется у меня такой.


Вернуться наверх
 
 Заголовок сообщения: Re: Мелкие вопросы по УНЧ.
СообщениеДобавлено: Ср дек 03, 2025 11:19:56 
Открыл глаза

Зарегистрирован: Сб июн 11, 2016 20:54:49
Сообщений: 75
Рейтинг сообщения: 0
sergeisams! Благодарствую! Оно! Интересно, с какого дебило...телевизора отломан блок? Буду менять сгнившие электролиты и пробовать запускать. Всем спасибо!


Вернуться наверх
 
 Заголовок сообщения: Re: Мелкие вопросы по УНЧ.
СообщениеДобавлено: Ср дек 03, 2025 14:42:37 
Вымогатель припоя

Зарегистрирован: Пт май 20, 2022 12:28:46
Сообщений: 653
Рейтинг сообщения: 0
Yellowsp писал(а):
Интересно, с какого дебило...телевизора отломан блок?
Легкий гуглеж мне подсказал, что это блок А9.2 телевизоров 3УСЦТ

http://sasoft.qrz.ru/___/radio/shemy/tv ... /3usct.htm вот тут 3 схемы блоки БУ-3, БУ-3.1 и БУ-4


Вернуться наверх
 
 Заголовок сообщения: Re: Мелкие вопросы по УНЧ.
СообщениеДобавлено: Ср дек 03, 2025 16:15:52 
Друг Кота
Аватар пользователя

Карма: 197
Рейтинг сообщений: 8643
Зарегистрирован: Пн ноя 30, 2009 03:00:01
Сообщений: 43576
Откуда: Нерезиновая
Рейтинг сообщения: 3
Yellowsp писал(а):
кните в инфо по УНЧ от УЛПТЦ, Нужна схема блока с УНЧ на К174УН7.
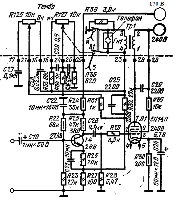
В телевизорах УЛПЦТ УНЧ собран на одном КТ315 и лампе 6П14П:
СпойлерИзображение
Вложение:
УНЧ УЛПЦТ-V2.jpg [155.42 KiB]
Скачиваний: 551

А УНЧ на 174УН7 это УПИМЦТ:
СпойлерИзображение
Вложение:
УНЧ УПИМЦТ.JPG [116.71 KiB]
Скачиваний: 552

Yellowsp писал(а):
а я хочу блок на К174УН7 встроить в компьютерную колонку.

:dont_know: Не самая лучшая идея на сегодняшний день.. :dont_know:
А чем вас "типовая схема включения"
СпойлерИзображение

не устраивает?


Вернуться наверх
 
 Заголовок сообщения: Re: Мелкие вопросы по УНЧ.
СообщениеДобавлено: Ср дек 03, 2025 18:02:08 
Открыл глаза

Зарегистрирован: Сб июн 11, 2016 20:54:49
Сообщений: 75
Рейтинг сообщения: 0
Silicoid ! У нас ГУГЛ разный, вместо инфо куча рекламно-продаванского мусора. АлександрЛ! Просто хочу, чей-то старый труд пристроить, а не распылить на атомы, размер колонки позволяет. А дополнительную цепочку с ООС, всегда ввожу в схемы с УНЧ, поэтому, нужно подробно знать, куда тыкать. А схема, и впрямь, навороченная! 30в из +220, переключатели, наверняка, на селектор каналов с варикапами и разводка под ДУ. Одним УНЧ не ограничена. Есть еще, тоже, наверняка, от телека, там, вааще стерео???


Вернуться наверх
 
 Заголовок сообщения: Re: Мелкие вопросы по УНЧ.
СообщениеДобавлено: Вс дек 14, 2025 09:39:04 
Родился

Зарегистрирован: Пт янв 17, 2025 17:13:35
Сообщений: 9
Рейтинг сообщения: 0
Здравствуйте. Имеется такой модуль стерео усилителя XH-A232
На базе микросхемы TPA3110d2
Проблема - фон в колонках.
Фон не убирается регулятором громкости.
Запитка через трансформатор + диодный мост + конденсатор на 1000 микрофарад.
Если выдернуть вилку из розетки фон пропадает.
Почитав форумы наткнулся я на такую информацию:
Усиление на TPA3110d2 устанавливается либо подачей питания, либо заземлением gain0 / gain1.

Заземление обоих дает 20 дБ
Советуют отрезать от микросхемы дорожки, ведущие к 5, 6 ногам, и кинуть эти выводы на землю.
Как найти эти точки gain0 / gain1?
Снял радиатор. Фото прикладываю. Правильно ли я пометил выводы 5 и 6 микросхемы?
С какой стороны их кидать на землю? Со стороны микросхемы или со стороны дорожек?

Изображение


Вернуться наверх
 
 Заголовок сообщения: Re: Мелкие вопросы по УНЧ.
СообщениеДобавлено: Вс дек 14, 2025 10:15:40 
Друг Кота
Аватар пользователя

Карма: 107
Рейтинг сообщений: 3841
Зарегистрирован: Пн фев 09, 2009 22:19:49
Сообщений: 25349
Откуда: Когда-то был прекрасный город для людей
Рейтинг сообщения: 0
Первым делом надо кинуть 1000 микрофарад...


Вернуться наверх
 
 Заголовок сообщения: Re: Мелкие вопросы по УНЧ.
СообщениеДобавлено: Вс дек 14, 2025 11:14:47 
Родился

Зарегистрирован: Пт янв 17, 2025 17:13:35
Сообщений: 9
Рейтинг сообщения: 0
Куда надо кинуть 1000 микрофарад? Увеличить ёмкость фильтра питания? Чтобы в общем было 2000 микрофарад? Я пытался ножками доп. конденсатора (1000 мкф) цепляться к контактам питания - не припаивая его. Шум это не устранило.


Вернуться наверх
 
 Заголовок сообщения: Re: Мелкие вопросы по УНЧ.
СообщениеДобавлено: Вс дек 14, 2025 15:24:58 
Модератор
Аватар пользователя

Карма: 159
Рейтинг сообщений: 4081
Зарегистрирован: Пт янв 23, 2009 19:20:05
Сообщений: 45776
Рейтинг сообщения: 0
Медали: 1
Получил миской по аватаре (1)
У меня китайские платы на этих микросхемах нормально работают от БП телевизионной приставки, 12 вольт 2 ампера. Нет никакого фона... (с ёмкостью в 1000 микрофарад фон будет обязательно!)


Вернуться наверх
 
 Заголовок сообщения: Re: Мелкие вопросы по УНЧ.
СообщениеДобавлено: Вс дек 14, 2025 16:03:21 
Поставщик валерьянки для Кота
Аватар пользователя

Карма: 8
Рейтинг сообщений: 206
Зарегистрирован: Вт фев 21, 2017 18:59:21
Сообщений: 2308
Откуда: Седой Урал
Рейтинг сообщения: 0
....На базе микросхемы TPA3110d2....


Ничего не трогал- фона нет. Питание +20В от блока питания Радиотехники Т7111. В БП ничего не трогал.


Вернуться наверх
 
Показать сообщения за:  Сортировать по:  Вернуться наверх
Начать новую тему Ответить на тему  [ Сообщений: 13577 ]     ... , , , 672, , , ...  

Часовой пояс: UTC + 3 часа


Вы не можете начинать темы
Вы не можете отвечать на сообщения
Вы не можете редактировать свои сообщения
Вы не можете удалять свои сообщения
Вы не можете добавлять вложения

Найти:
Перейти:  


Powered by phpBB © 2000, 2002, 2005, 2007 phpBB Group
Русская поддержка phpBB
Extended by Karma MOD © 2007—2012 m157y
Extended by Topic Tags MOD © 2012 m157y