Например TDA7294

Форум РадиоКот • Просмотр темы - Ремонт. Рига 103
Форум РадиоКот
Здесь можно немножко помяукать :)

Текущее время: Пн ноя 17, 2025 01:19:25

Часовой пояс: UTC + 3 часа


ПРЯМО СЕЙЧАС:



Начать новую тему Ответить на тему  [ Сообщений: 332 ]  1, , , , ...  
Автор Сообщение
Не в сети
 Заголовок сообщения: Ремонт. Рига 103
СообщениеДобавлено: Сб ноя 07, 2015 16:08:22 
Это не хвост, это антенна
Аватар пользователя

Карма: 17
Рейтинг сообщений: 536
Зарегистрирован: Вс ноя 30, 2014 14:37:01
Сообщений: 1444
Рейтинг сообщения: 3
Начинаю профилактику в общем-то почти рабочей экспортной Риги 103. Для начала фото.
Такое ощущение, что это ламповый приемник (по "слоновой" прочности конструкции и механике напоминает его). Также еще поразила толщина шнура верньера. А вообще верньерный механизм Риги 103 уже создал мне проблему в виде "проворачивания" диапазонной ручки и стояния стрелки на месте. Вначале подумал, что не хватает витков шнура на диапазонной ручке для соответствующего "сцепления". Посмотрел на схему - число витков шнура совпадает. Протер ось верньера спиртом, заработало, но затем опять история повторилась. Все пластмассовые "колесики" в осях смазал, так что грешить на "заедание" механизма причин нет. Как то, на мой взгляд, неправильно себя ведет шнур верньера, когда идет поиск станций. Сначала намотка как бы работает на одном конце вала, а когда крутишь дальше, то под "напором" наматывающейся нити верньера вся эта намотка резко смещается к другому концу оси верньера. Но перекосов или ошибок предыдущего владельца в схеме верьнера нет, проверил по "Руководству по ремонту". Значит это "косяк" конструкторов ? И еще один непонятный конструктив, создающий дополнительное трение, привожу на фото. Видно как нить верньера на ФМ конструктивно касается пластика корпуса. По идее этого не должно быть.

Для пользователей. На последней странице темы "Ремонт.Рига 104" выложил ссылку, где у меня все материалы по Риге 103 в одном месте.


Вложения:
IMG_0079.JPG [78.84 KiB]
Скачиваний: 2692
IMG_0076.JPG [97.08 KiB]
Скачиваний: 2276
Вернуться наверх
 
Не в сети
 Заголовок сообщения: Re: Ремонт. Рига 103
СообщениеДобавлено: Сб ноя 07, 2015 16:27:03 
Друг Кота
Аватар пользователя

Карма: 110
Рейтинг сообщений: 6673
Зарегистрирован: Пт авг 14, 2015 14:25:02
Сообщений: 11291
Откуда: Одесса - мама
Рейтинг сообщения: 0
Талгат7174, а я не верю,что это родной "тросик"! :( Да еще похоже он грязнючий... :dont_know:

Дальше - FM : подложи под тросик что-то металлическое - жестянку. :idea: Например,отрежь кусочек(10...20мм) трубки от антенны подходящего диаметра.Разрежь её вдоль - получится пол-цилиндра...
Мысля понята? :)

_________________
90% времени уходит на отыскание неисправности,остальное - ждать когда нагреется паяльник! :)


Вернуться наверх
 
Не в сети
 Заголовок сообщения: Re: Ремонт. Рига 103
СообщениеДобавлено: Сб ноя 07, 2015 16:39:30 
Это не хвост, это антенна
Аватар пользователя

Карма: 17
Рейтинг сообщений: 536
Зарегистрирован: Вс ноя 30, 2014 14:37:01
Сообщений: 1444
Рейтинг сообщения: 0
То есть ты хочешь сказать, что "пластмассовый" прилив, который задевает тросик, при замене его поверхности на металл даст ощутимый эффект по снижению трения?

А тросик - родной, я на сайте посмотрел картинку. Там такой же. http://rw6ase.narod.ru/000/rprl_p/riga103_6.jpg

Звучание у него....! После этого Ригу 104 не хочется слушать ))).


Вернуться наверх
 
Не в сети
 Заголовок сообщения: Re: Ремонт. Рига 103
СообщениеДобавлено: Сб ноя 07, 2015 16:54:16 
Друг Кота
Аватар пользователя

Карма: 110
Рейтинг сообщений: 6673
Зарегистрирован: Пт авг 14, 2015 14:25:02
Сообщений: 11291
Откуда: Одесса - мама
Рейтинг сообщения: 1
Ну, "я так, думаю"(к/ф "Мимино") :dont_know: ИМХО,при трении тросика об пластик он(прилив) оплавляется и создаётся лишнее трение.Вместо металла можно попробовать Фторопласт.
А тросик АМ грязный - помой его средством для посуды или "МистерМускулом"

Ещё надо разобраться с натяжной пружиной - может она плохо "спускает" натяг или где-то цепляет сам тросик.Поэтому и "прыгает" на оси ручки настройки. :dont_know:

_________________
90% времени уходит на отыскание неисправности,остальное - ждать когда нагреется паяльник! :)


Вернуться наверх
 
Эиком - электронные компоненты и радиодетали
Не в сети
 Заголовок сообщения: Re: Ремонт. Рига 103
СообщениеДобавлено: Сб ноя 07, 2015 17:02:15 
Это не хвост, это антенна
Аватар пользователя

Карма: 17
Рейтинг сообщений: 536
Зарегистрирован: Вс ноя 30, 2014 14:37:01
Сообщений: 1444
Рейтинг сообщения: 0
Отличный совет! Воспользуюсь. А тебе плюс!

Вот еще фото для сравнения диапазонов ремонтируемого аппарата и советских аналогов.

У моего шкала на 40 метровом диапазоне несколько отличается.


Вложения:
IMG_0081.JPG [95.28 KiB]
Скачиваний: 2071
Рига 103 экспортная.jpg [148.07 KiB]
Скачиваний: 2182
Рига 103 обычная.jpg [148.07 KiB]
Скачиваний: 1798
Вернуться наверх
 
Не в сети
 Заголовок сообщения: Re: Ремонт. Рига 103
СообщениеДобавлено: Сб ноя 07, 2015 17:24:56 
Друг Кота
Аватар пользователя

Карма: 110
Рейтинг сообщений: 6673
Зарегистрирован: Пт авг 14, 2015 14:25:02
Сообщений: 11291
Откуда: Одесса - мама
Рейтинг сообщения: 0
Не слышу вопроса... :dont_know: Тебе-ль не знать как "совки" всегда хотели отличиться от "Загнивающего запада". :)) Вон : даже FM они не дотянули до 108МГц... :tea: ...остановились на 104МГц!

К стати в (моём) Грюне тоже FM до 104МГц!!! Хотя он - Поляцкий! А в моём 65-74МГц.

_________________
90% времени уходит на отыскание неисправности,остальное - ждать когда нагреется паяльник! :)


Вернуться наверх
 
Не в сети
 Заголовок сообщения: Re: Ремонт. Рига 103
СообщениеДобавлено: Сб ноя 07, 2015 17:30:17 
Друг Кота
Аватар пользователя

Карма: 52
Рейтинг сообщений: 846
Зарегистрирован: Вт сен 07, 2010 03:01:06
Сообщений: 16545
Откуда: Moscow-Izmaylovo
Рейтинг сообщения: 0
сегодня отдал ВЭФ-260 купленный клиентами
первый имел УКВ
второй который купили надпись FM
но вот шкалы у обоих были одинаковые 4.1
так что не тот сегодняшний FM, это просто букв иные а всё остальное такое же.

_________________
Лечу лечить WWWашу покалеченную технику.


Вернуться наверх
 
Не в сети
 Заголовок сообщения: Re: Ремонт. Рига 103
СообщениеДобавлено: Сб ноя 07, 2015 17:40:31 
Друг Кота
Аватар пользователя

Карма: 110
Рейтинг сообщений: 6673
Зарегистрирован: Пт авг 14, 2015 14:25:02
Сообщений: 11291
Откуда: Одесса - мама
Рейтинг сообщения: 0
...совки писали и так и так - и в метрах и в мегагерцах. :)
Это-ж просто внешний вид - оформление.

_________________
90% времени уходит на отыскание неисправности,остальное - ждать когда нагреется паяльник! :)


Вернуться наверх
 
Не в сети
 Заголовок сообщения: Re: Ремонт. Рига 103
СообщениеДобавлено: Вс ноя 08, 2015 08:30:46 
Это не хвост, это антенна
Аватар пользователя

Карма: 17
Рейтинг сообщений: 536
Зарегистрирован: Вс ноя 30, 2014 14:37:01
Сообщений: 1444
Рейтинг сообщения: 0
Насчет недотянули FM. Вот нашел мнение спеца: "в Западной Германии диапазон FM расширили до американского (а ныне и нашего) стандарта 88-108 МГц только в 1979 году, а в Восточной Германии вещание на самом высокочастотном конце диапазона началось согласно решению ЦК СЕПГ аж в 1985 годе…

Так что наша мечта иметь ламповый немецкий Телефункен с диапазоном FM — практически невыполнима, тут и на германиевых транзисторах малореально добыть с диапазоном шире, чем 88-104 Мгц… Может быть, в Германии делали радиоприёмники с 88-108 МГц для экспорта в США и другие страны — но это лишь моё предположение, и по любому — такие радиоприёмники даже если и попали на внутренний германский рынок — должны быть большим дефицитом и дорого стоить…"

Значит эта экспортная Рига 103 1967 года рождения была для немцев выпущена ?


Вернуться наверх
 
Не в сети
 Заголовок сообщения: Re: Ремонт. Рига 103
СообщениеДобавлено: Вс ноя 08, 2015 08:48:05 
Друг Кота
Аватар пользователя

Карма: 110
Рейтинг сообщений: 6673
Зарегистрирован: Пт авг 14, 2015 14:25:02
Сообщений: 11291
Откуда: Одесса - мама
Рейтинг сообщения: 0
А как насчёт Кубы, и вообще Латинкой Америки? :tea: Забыли,Сэрр? :)

Поставками "Советских Благ" в страны СЭВ совки не ограничивались...

_________________
90% времени уходит на отыскание неисправности,остальное - ждать когда нагреется паяльник! :)


Вернуться наверх
 
Не в сети
 Заголовок сообщения: Re: Ремонт. Рига 103
СообщениеДобавлено: Вс ноя 08, 2015 17:26:17 
Это не хвост, это антенна
Аватар пользователя

Карма: 17
Рейтинг сообщений: 536
Зарегистрирован: Вс ноя 30, 2014 14:37:01
Сообщений: 1444
Рейтинг сообщения: 0
Следующая задача - поэкспериментировать с УНЧ Рига 103 с целью получить мягкие мощные басы при низкой громкости, как в Грюндиге 210. Поищу опыт риговодов по 103 модели.


Вложения:
Текст про УНЧ.jpg [241.6 KiB]
Скачиваний: 2236
УНЧ Рига 103.jpg [230.29 KiB]
Скачиваний: 2029
Вернуться наверх
 
Не в сети
 Заголовок сообщения: Re: Ремонт. Рига 103
СообщениеДобавлено: Вс ноя 08, 2015 17:54:03 
Друг Кота
Аватар пользователя

Карма: 110
Рейтинг сообщений: 6673
Зарегистрирован: Пт авг 14, 2015 14:25:02
Сообщений: 11291
Откуда: Одесса - мама
Рейтинг сообщения: 1
R1C1 , R2C3 - доп выводы для тонкомпенсации на НЧ.Если рег. громкости "затёртый" от времени, то эта ТК работать будет неправильно. Темброблок - стандартный мостовой.

С2,С6,С7,С9 - заменить. :solder:

С8С9R12 - частотная коррекция предусилителя для темброблока.R7С6 - частотная коррекция ООС - не помню точно,врать не буду... :dont_know:

P.S.ну вот! фотка - совсем другое дело! :) Класс!

_________________
90% времени уходит на отыскание неисправности,остальное - ждать когда нагреется паяльник! :)


Вернуться наверх
 
Не в сети
 Заголовок сообщения: Re: Ремонт. Рига 103
СообщениеДобавлено: Вс ноя 08, 2015 18:05:12 
Это не хвост, это антенна
Аватар пользователя

Карма: 17
Рейтинг сообщений: 536
Зарегистрирован: Вс ноя 30, 2014 14:37:01
Сообщений: 1444
Рейтинг сообщения: 0
Ок! На неделе будет время - сделаю.


Вернуться наверх
 
Не в сети
 Заголовок сообщения: Re: Ремонт. Рига 103
СообщениеДобавлено: Вс ноя 08, 2015 18:18:31 
Друг Кота
Аватар пользователя

Карма: 110
Рейтинг сообщений: 6673
Зарегистрирован: Пт авг 14, 2015 14:25:02
Сообщений: 11291
Откуда: Одесса - мама
Рейтинг сообщения: 0
И ещё,не мешало-бы и усилок пересыпать : С14 - С17,С19 и естессно С20. :solder:

Да и на общей плате их не много - аж три! :)) Но,важных : один С39 на детекторе ЧМ, второй С42 на выходе детекторов АМ,ЧМ , АРУ С22 - "всё по пять" :))) (как в сэкондхенде)

_________________
90% времени уходит на отыскание неисправности,остальное - ждать когда нагреется паяльник! :)


Вернуться наверх
 
Не в сети
 Заголовок сообщения: Re: Ремонт. Рига 103
СообщениеДобавлено: Вс ноя 08, 2015 20:05:24 
Модератор
Аватар пользователя

Карма: 46
Рейтинг сообщений: 236
Зарегистрирован: Чт окт 27, 2005 18:50:07
Сообщений: 11169
Откуда: из мест не столь отдалённых
Рейтинг сообщения: 1
Медали: 2
Получил миской по аватаре (1) Мявтор 3-й степени (1)
При проскальзывании тросика, может помочь искуственное увеличение шероховатости вала. Например, поцарапать его шилом, а лучше- грубой наждачкой.


Вернуться наверх
 
Не в сети
 Заголовок сообщения: Re: Ремонт. Рига 103
СообщениеДобавлено: Вс ноя 08, 2015 21:08:08 
Друг Кота
Аватар пользователя

Карма: 110
Рейтинг сообщений: 6673
Зарегистрирован: Пт авг 14, 2015 14:25:02
Сообщений: 11291
Откуда: Одесса - мама
Рейтинг сообщения: 0
Спасибо,Сэр Мурр! Я это уже советовал другу Талгат7174 в другой теме.Но он отказался и весьма обосновано - насечка будет протирать тросик.Там дело просто в грязном тросике и работе пружины натяга. :) А тросик должен плавно соскальзывать вдоль оси(она цилиндрическая - не конусная),но не прокручиваться. IMG 0079.JPG :)

_________________
90% времени уходит на отыскание неисправности,остальное - ждать когда нагреется паяльник! :)


Вернуться наверх
 
Не в сети
 Заголовок сообщения: Re: Ремонт. Рига 103
СообщениеДобавлено: Пн ноя 09, 2015 05:39:26 
Это не хвост, это антенна
Аватар пользователя

Карма: 17
Рейтинг сообщений: 536
Зарегистрирован: Вс ноя 30, 2014 14:37:01
Сообщений: 1444
Рейтинг сообщения: 2
Друзья, благодарю за советы. Тросик сниму, промою в спиртовом растворе, поскольку он оказался пропитан канифолью в районе "хода" тросика по оси верньера. Из-за этого вид у него "грязноватый". Может сцепление увеличится.


Вернуться наверх
 
Не в сети
 Заголовок сообщения: Re: Ремонт. Рига 103
СообщениеДобавлено: Пн ноя 09, 2015 09:44:09 
Друг Кота
Аватар пользователя

Карма: 110
Рейтинг сообщений: 6673
Зарегистрирован: Пт авг 14, 2015 14:25:02
Сообщений: 11291
Откуда: Одесса - мама
Рейтинг сообщения: 0
Вот видишь,и не надо ничего "шкрябать"(когтями - оську) :)) Я тебе ещё когда сказал и не в этой теме... :)

Я в Инете надыбал о перестройке УКВ в FM - чтоб "дотянуть" диапазон до 108МГц не достаточно заменить кондёры,надо еще поиграться с длиной сердечников вариометра. :wink: Из чего они сделаны - из латуни?

Скинь фоты вариометра(снятого),плизз я хочу посмотреть.Может чё подскажу...

_________________
90% времени уходит на отыскание неисправности,остальное - ждать когда нагреется паяльник! :)


Вернуться наверх
 
Не в сети
 Заголовок сообщения: Re: Ремонт. Рига 103
СообщениеДобавлено: Пн ноя 09, 2015 10:11:24 
Это не хвост, это антенна
Аватар пользователя

Карма: 17
Рейтинг сообщений: 536
Зарегистрирован: Вс ноя 30, 2014 14:37:01
Сообщений: 1444
Рейтинг сообщения: 0
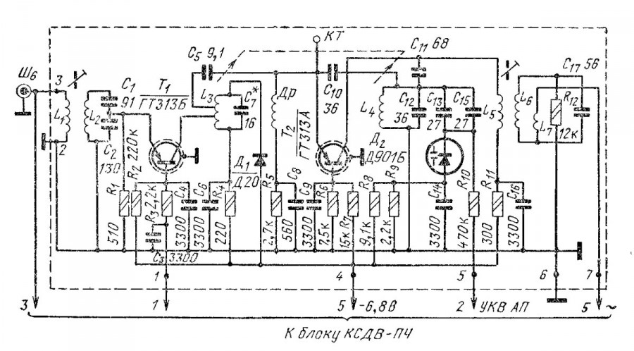
Фото блока FM.
Блок УКВ1-С300-6,8РП (для ламповых Рига 101 и 102). Цифра 300 обозначает волновое сопротивление.
В Риге 103 стоит блок УКВ1-С75-6,8РП

Конструкция блока УКВ выбрана исходя из условия обеспечения минимального паразитного излучения на основной частоте гетеродина и его гармониках. Этот параметр зависит не только от рационального построения электрической схемы блока, но н в значительной степени определяется его конструкцией.

Конструктивно блок выполнен в виде экранированного узла. Монтаж блока - печатный, на плате из фольгироваиного стеклотекстолита. Печатная плата с установленными на ней элементами схемы и механизмом настройки (рис. 33) закреплена на литом основании с помощью четырех винтов. Это обеспечивает надежный контакт земляного поля печатной платы с основанием. Экран кренится к основанию сверху одним винтом с помощью вертикальной колонки, причем для обеспечения более надежного контакта между экраном и основанием по всему периметру стенки последнего имеют конусообразную форму.

Настройка блока осуществляется перемещением латунных сердечников внутри катушек контуров гетеродина и УВЧ. Применение механизма настройки с вертикальным расположением катушек позволило уменьшить размеры блока УКВ. Принятая конструкция механизма настройки обеспечивает возможность осевого перемещения сердечников относительно друг друга, что необходимо при установлении крайних частот диапазона и при сопряжении контуров УВЧ и гетеродина. Это позволяет не использовать в высокочастотных контурах блока УКВ подстроечные конденсаторы. Форма латунных сердечников в контурах УВЧ и гетеродина отличается друг от друга и подобрана таким образом, чтобы при сопряжении в одной точке (на средней частоте диапазона) коэффициент усиления блока был равномерным по всему диапазону.

Ход механизма настройки (перемещение сердечников в одном направлении) равен 12 мм. Такая величина хода позволяет, не изменяя конструкции механизма настройки, применять его как в блоках УКВ на отечественный диапазон частот 65,8-73 Мгц (перекрытие по частоте - 7,2 Мгц), так и в блоках на европейский диапазон частот 87,5-104 Мгц (перекрытие по частоте - 16,5 Мгц).


Вложения:
Рис. 33.jpg [13.56 KiB]
Скачиваний: 2477
225372_900.jpg [126.11 KiB]
Скачиваний: 2286
cfea88c6bb02.jpg [43.37 KiB]
Скачиваний: 1868
225061_900.jpg [63.4 KiB]
Скачиваний: 1800
225622_900.jpg [101.79 KiB]
Скачиваний: 2292


Последний раз редактировалось Талгат7174 Пн ноя 09, 2015 13:54:00, всего редактировалось 4 раз(а).
Вернуться наверх
 
Не в сети
 Заголовок сообщения: Re: Ремонт. Рига 103
СообщениеДобавлено: Пн ноя 09, 2015 12:18:01 
Друг Кота
Аватар пользователя

Карма: 110
Рейтинг сообщений: 6673
Зарегистрирован: Пт авг 14, 2015 14:25:02
Сообщений: 11291
Откуда: Одесса - мама
Рейтинг сообщения: 0
С пасибо,схема у меня есть. :) Хотя хорошо,что ты вырезал кусок - так удобнее!

Так вот,с сердечниками ничего не сделаешь! :cry: Если бы они были просто цилиндрические(а не с переменным диаметром)... Ладно проехали.

_________________
90% времени уходит на отыскание неисправности,остальное - ждать когда нагреется паяльник! :)


Вернуться наверх
 
Показать сообщения за:  Сортировать по:  Вернуться наверх
Начать новую тему Ответить на тему  [ Сообщений: 332 ]  1, , , , ...  

Часовой пояс: UTC + 3 часа


Кто сейчас на форуме

Сейчас этот форум просматривают: нет зарегистрированных пользователей и гости: 18


Вы не можете начинать темы
Вы не можете отвечать на сообщения
Вы не можете редактировать свои сообщения
Вы не можете удалять свои сообщения
Вы не можете добавлять вложения

Найти:
Перейти:  


Powered by phpBB © 2000, 2002, 2005, 2007 phpBB Group
Русская поддержка phpBB
Extended by Karma MOD © 2007—2012 m157y
Extended by Topic Tags MOD © 2012 m157y