Например TDA7294

Форум РадиоКот • Просмотр темы - Собираю приёмники/передатчики/другие "частотные" схемы
Форум РадиоКот
Здесь можно немножко помяукать :)

Текущее время: Сб мар 21, 2026 23:36:37

Часовой пояс: UTC + 3 часа


ПРЯМО СЕЙЧАС:



Начать новую тему Ответить на тему  [ Сообщений: 4437 ]  1, , , , ...  
Автор Сообщение
 Заголовок сообщения: Собираю приёмники/передатчики/другие "частотные" схемы
СообщениеДобавлено: Вт июн 29, 2021 21:37:18 
Говорящий с текстолитом
Аватар пользователя

Зарегистрирован: Сб апр 17, 2021 12:24:15
Сообщений: 1521
Откуда: Украина
Рейтинг сообщения: 0
Привет всем

Я начинающий радиолюбитель. За плечами почти нет опыта, кроме приёмника прямого усиления - и тот поработал 5 минут и превратился в автогенератор.

В этой теме буду изучать, собирать и тестировать различные приёмники, передатчики и другие "частотные" схемы.

======================

Сейчас буду изучать, собирать и настраивать супергетеродин.

Книгу скачаю - Шаг за шагом. От детекторного приемника до супергетеродина.

Схему возьму оттуда(?). Есть у кого проверенная, хорошая схема?


Вернуться наверх
 
 Заголовок сообщения: Re: Собираю приёмники/передатчики/другие "частотные" схемы
СообщениеДобавлено: Вт июн 29, 2021 21:41:20 
Друг Кота

Карма: 1
Рейтинг сообщений: 91
Зарегистрирован: Вт мар 13, 2012 12:16:13
Сообщений: 9060
Откуда: .ru
Рейтинг сообщения: 0
Проверенная, хорошая схема - в заводских приёмниках ))
VEF, Океан, Селга... и т.д.
:tea:

Добавлено after 1 minute 35 seconds:
Когда я изучал супергетеродины - я разбирал заводские приёмники и переделывал под себя))


Вернуться наверх
 
 Заголовок сообщения: Re: Собираю приёмники/передатчики/другие "частотные" схемы
СообщениеДобавлено: Вт июн 29, 2021 21:42:25 
Говорящий с текстолитом
Аватар пользователя

Зарегистрирован: Сб апр 17, 2021 12:24:15
Сообщений: 1521
Откуда: Украина
Рейтинг сообщения: 0
Ну... Заводской у меня и так есть. Хочется чего-то своего.

Добавлено after 55 seconds:
Когда я изучал супергетеродины - я разбирал заводские приёмники и переделывал под себя))


Это как?


Вернуться наверх
 
 Заголовок сообщения: Re: Собираю приёмники/передатчики/другие "частотные" схемы
СообщениеДобавлено: Вт июн 29, 2021 21:51:57 
Друг Кота
Аватар пользователя

Карма: 72
Рейтинг сообщений: 1165
Зарегистрирован: Чт ноя 20, 2008 04:20:48
Сообщений: 8108
Откуда: КурскЪ
Рейтинг сообщения: 0
Изображение
https://radiostorage.net/2732-priemniki ... hemah.html
Изображение
**************
500 схем для радиолюбителей. Приемники
https://www.elec.ru/files/2019/08/26/Ни ... я_nt1A.PDF

_________________
Принимаю вас 595+40db на уровне шумов на кухонный приёмник,антенна наружка-магнитная катушка..работает "Акация",вот такая информация.Роман.73!!!
"50 КСВ 075", UA3112SWL
Изображение


Вернуться наверх
 
Эиком - электронные компоненты и радиодетали
 Заголовок сообщения: Re: Собираю приёмники/передатчики/другие "частотные" схемы
СообщениеДобавлено: Ср июн 30, 2021 00:21:58 
Друг Кота
Аватар пользователя

Карма: 107
Рейтинг сообщений: 3343
Зарегистрирован: Сб фев 11, 2017 15:59:13
Сообщений: 14997
Откуда: 57 RUS
Рейтинг сообщения: 0
Niobium писал(а):
Сейчас буду изучать, собирать и настраивать супергетеродин...
...Есть у кого проверенная, хорошая схема?

Скачайте и прочтите хорошую книгу В.А. Васильев
Простые транзисторные супергетеродины.

Там расписано всё подробно, просто и доходчиво.
Начинается рассмотрение супергетеродинов с простейшей схемы:
Изображение

Изображение

_________________
НАРОДОВЛАСТИЕ а не кланово-олигархическая дерьмократия!!!
Цифровому рабству, навязываемому цифровым олигархатом - НЕТ!


Вернуться наверх
 
 Заголовок сообщения: Re: Собираю приёмники/передатчики/другие "частотные" схемы
СообщениеДобавлено: Ср июн 30, 2021 06:16:31 
Друг Кота

Карма: 49
Рейтинг сообщений: 550
Зарегистрирован: Чт фев 20, 2014 18:57:55
Сообщений: 19494
Рейтинг сообщения: 1
Есть у кого проверенная, хорошая схема?

Звучит примерно как "Хочу научиться программировать. Есть у кого проверенная, хорошая программа ?" :))

В отличии от приемника прямого преобразования тема намного шире и вам никуда не деться от некоего ТЗ - для начала что вы собрались принимать и в каком диапазоне ? Для приема радиолюбительских сигналов и вещательных АМ станций приемники все же разные, а УКВ/ЧМ уж совсем отличаются, кому то интересно авиадиапазон принимать - есть и такие приемники (УКВ/ узкополосная АМ на ~130 МГц). Потом если речь о приеме радиолюбителей на КВ или авиадиапазон (ну или чтобы просто попасть на нужную частоту), то стоит задуматься о синтезаторе т.к. хороший гпд на коленке для этого собрать непросто, а вот синтезатор в наше время как раз просто, не сложнее частотомера.

Многодиапазонный вариант, как вы наверное заметили, отличается сложной коммутацией и кучей переключаемый контуров. Это не единственный подход построения приемников. Есть супергетеродины с преобразованием вверх с первой ПЧ, допустим, 45 МГц (эти фильтры доступны и стоят копейки) - такие более менее могут принимать весь КВ диапазон с одним входным фильтром, а с синтезатором они получаются и без сложного гпд.

_________________
"Вся военная пропаганда, все крики, ложь и ненависть исходят от людей, которые на эту войну не пойдут !" / Джордж Оруэлл /
"Война - это,когда за интересы других,гибнут совершенно безвинные люди." / Уинстон Черчилль /


Вернуться наверх
 
 Заголовок сообщения: Re: Собираю приёмники/передатчики/другие "частотные" схемы
СообщениеДобавлено: Ср июн 30, 2021 07:34:54 
Друг Кота

Карма: 1
Рейтинг сообщений: 91
Зарегистрирован: Вт мар 13, 2012 12:16:13
Сообщений: 9060
Откуда: .ru
Рейтинг сообщения: 0
Какие нафиг синтезаторы)) Соберите для начала простой супергетеродин на транзисторах.
Для начала изучите теорию. Что такое супергетеродин и чем он отличается от приёмника прямого усиления.
Вложение:
supergeterodin.jpg [77.62 KiB]
Скачиваний: 1104

К слову современные приёмники не сильно отличаются от простого супергетеродина на транзисторах.))
Вложение:
современные супергетеродины.jpg [108.35 KiB]
Скачиваний: 1130

Niobium писал(а):
Это как?

Это просто)) Берём готовый заводской приёмник и переделываем под себя.
1- перестраиваем частоту (чтоб ловил всех радиолюбителей).
2- меняем фильтры (повышаем избирательность по соседнему каналу).
3- добавляем усилитель (повышаем чувствительность).
4- добавляем преселектор (повышаем селективность).
...
и т.д.
:tea:


Вернуться наверх
 
 Заголовок сообщения: Re: Собираю приёмники/передатчики/другие "частотные" схемы
СообщениеДобавлено: Ср июн 30, 2021 12:25:34 
Друг Кота

Карма: 49
Рейтинг сообщений: 550
Зарегистрирован: Чт фев 20, 2014 18:57:55
Сообщений: 19494
Рейтинг сообщения: 0
Это все вместе сложнее сделать, чем собрать с нуля какой нибудь приемник с эмф на пару диапазонов, а для начинающего и дольше. Ну разве что опыт набрать.

Ну мы пока не знаем ему любители вообще нужны или опять вещалки, но КВ )

На транзисторах простенький, конечно, можно собрать, но это будет примерно как предыдущий, только что диапазон можно другой (не св), на ха10 получше получится, хотя мне конкретно эта микруха не нравится.

_________________
"Вся военная пропаганда, все крики, ложь и ненависть исходят от людей, которые на эту войну не пойдут !" / Джордж Оруэлл /
"Война - это,когда за интересы других,гибнут совершенно безвинные люди." / Уинстон Черчилль /


Вернуться наверх
 
 Заголовок сообщения: Re: Собираю приёмники/передатчики/другие "частотные" схемы
СообщениеДобавлено: Ср июн 30, 2021 13:09:26 
Друг Кота

Карма: 1
Рейтинг сообщений: 91
Зарегистрирован: Вт мар 13, 2012 12:16:13
Сообщений: 9060
Откуда: .ru
Рейтинг сообщения: 0
Давайте начнём с простого))
Вопрос: Знаете ли вы как работает супергетеродин ? Давайте проверим ))
1- Берём любой готовый заводской приёмник.
Вложение:
almaz18.jpg [152.21 KiB]
Скачиваний: 975

2- Выкручиваем все контура и конденсаторы.
3- Возвращаем всё к заводским настройкам.
Если вы сможете всё правильно настроить, то вы знаете как работает супергетеродин.
Садись, 5 ! Давай зачётку))
:)))
Дальше можно собирать свой приёмник.
:tea:
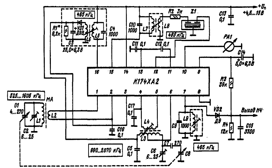
ха10 - отстой))
Тогда уж лучше типа К174ХА2. Это готовый приёмник. Там есть всё.
Вложение:
K174XA2.png [72.75 KiB]
Скачиваний: 1045

:tea:


Вернуться наверх
 
 Заголовок сообщения: Re: Собираю приёмники/передатчики/другие "частотные" схемы
СообщениеДобавлено: Ср июн 30, 2021 13:21:23 
Говорящий с текстолитом
Аватар пользователя

Зарегистрирован: Сб апр 17, 2021 12:24:15
Сообщений: 1521
Откуда: Украина
Рейтинг сообщения: 0
Я сейчас вообще не знаю как работает супергетеродин и чем он лучше обычного приёмника прямого усиления. Буду изучать.


Вернуться наверх
 
 Заголовок сообщения: Re: Собираю приёмники/передатчики/другие "частотные" схемы
СообщениеДобавлено: Ср июн 30, 2021 13:35:40 
Вымогатель припоя

Зарегистрирован: Вс сен 10, 2006 00:04:03
Сообщений: 546
Рейтинг сообщения: 0
Скоро весь раздел форума будет только в ваших топиках)
Купите на али si4825 - их там за 2 доллара продают 5 штук и делайте себе радиво на них..Хошь на FM,хошь на КВ, хошь на АМ))
В обвязке - пяток деталей)
переменник на 100k - ошибся когда перерисовывал с даташита


Вложения:
SIS.JPG [58.75 KiB]
Скачиваний: 1277


Последний раз редактировалось SAU Ср июн 30, 2021 13:39:08, всего редактировалось 1 раз.
Вернуться наверх
 
 Заголовок сообщения: Re: Собираю приёмники/передатчики/другие "частотные" схемы
СообщениеДобавлено: Ср июн 30, 2021 13:38:29 
Друг Кота

Карма: 49
Рейтинг сообщений: 550
Зарегистрирован: Чт фев 20, 2014 18:57:55
Сообщений: 19494
Рейтинг сообщения: 0
Буду изучать.

В целом все просто - в типичном вещательном приемнике с одной ПЧ смеситель с генератором переносят сигнал с принимаемой частоты на фиксированную промежуточную, где и происходит дальнейшее усиление, т.е. начиная с усилителя промежуточной частоты по сути имеем приемник прямого усиления, с которым выиуже знакомы. Смысл в том, что на одну относительно низкую частоту можно построить усилитель гораздо лучше, чем перестраиваемый, такой усилитель получается с узкой полосой приема и высокой селективностью относительно соседних частот, в нем можно применять заводские фильтры с хорошими параметрами, а перестраивается при этом только генератор и входные фильтры.

В обвязке - пяток деталей)

это уже почти как готовый купить. скучно и ничего не дает, кроме потерянного времени )

_________________
"Вся военная пропаганда, все крики, ложь и ненависть исходят от людей, которые на эту войну не пойдут !" / Джордж Оруэлл /
"Война - это,когда за интересы других,гибнут совершенно безвинные люди." / Уинстон Черчилль /


Вернуться наверх
 
 Заголовок сообщения: Re: Собираю приёмники/передатчики/другие "частотные" схемы
СообщениеДобавлено: Ср июн 30, 2021 13:42:13 
Вымогатель припоя

Зарегистрирован: Вс сен 10, 2006 00:04:03
Сообщений: 546
Рейтинг сообщения: 0
это уже почти как готовый купить. скучно и ничего не дает, кроме потерянного времени )

а без приборов он супер не настроит.
Просто все в теории,а как начнешь его собирать - начнут косяки вылазить.Особенно ,если мотать самому контура ПЧ и гетеродина, настраивать их.
Катушки отечественные для них дерьмо - ножки плавятся при прикосновении, импортных каркасов у нас нет.
Короче в 90% что забросит на начальной стадии.
Кстати схема из книжки Васильева нынче неактуальна - мощных вещалок нет, а на одном каскаде УПЧ он ничего не услышит.


Вернуться наверх
 
 Заголовок сообщения: Re: Собираю приёмники/передатчики/другие "частотные" схемы
СообщениеДобавлено: Ср июн 30, 2021 14:39:10 
Друг Кота

Карма: 1
Рейтинг сообщений: 91
Зарегистрирован: Вт мар 13, 2012 12:16:13
Сообщений: 9060
Откуда: .ru
Рейтинг сообщения: 0
SAU писал(а):
Купите на али si4825...

Купите на али готовый модуль RDA5807M, FM стерео за 28,51 руб.
https://aliexpress.ru/item/400110430920 ... 4406513379
:)))
Это не наш метод.
:tea:
SAU писал(а):
без приборов он супер не настроит.

Да ладно)) Для простого приёмника и тестера хватит))
Niobium писал(а):
не знаю как работает супергетеродин и чем он лучше обычного приёмника прямого усиления

Сравнивать супергетеродин и приёмник прямого усиления - это как сравнивать Запорожец и Мерседес))
И то и то автомобили. А какая большая между ними разница ! ))

По простому...
Одна из "фишек" супергетеродина - он не возбуждается.
Например для приёма дальних (слабых) радиостанций надо поднимать усиление. А сделать большое усиление в приёмнике прямого усиления очень трудно. Приёмники прямого усиления капризны. Они склоны возбуждаться. Ты и сам в этом убедился))

В супергетеродине такой проблемы нет. Супергетеродин имеет гораздо большее устойчивое. Просто в супергетеродине все блоки работают на разных частотах. Поэтому они друг другу не мешают. Поэтому правильно собранный супергетеродин не возбуждается никогда ! Поэтому в супергетеродине можно сделать сколь угодно большое усиление и при этом супергетеродин не возбудится ! ))
:tea:


Вернуться наверх
 
 Заголовок сообщения: Re: Собираю приёмники/передатчики/другие "частотные" схемы
СообщениеДобавлено: Ср июн 30, 2021 14:44:34 
Друг Кота

Карма: 49
Рейтинг сообщений: 550
Зарегистрирован: Чт фев 20, 2014 18:57:55
Сообщений: 19494
Рейтинг сообщения: 0
Кстати схема из книжки Васильева нынче неактуальна - мощных вещалок нет, а на одном каскаде УПЧ он ничего не услышит.


На прямого усиления слышал же, мне в том транзисторном первый каскад не нравится - в нем можно накосячить, тем более новичку.

Можно попробовать без приборов если использовать микросхемы и пьезофильтр, мотать и правда лучше поменьше (контур пч лучше дернуть готовый). Ножки плавятся - не аргумент )

_________________
"Вся военная пропаганда, все крики, ложь и ненависть исходят от людей, которые на эту войну не пойдут !" / Джордж Оруэлл /
"Война - это,когда за интересы других,гибнут совершенно безвинные люди." / Уинстон Черчилль /


Вернуться наверх
 
 Заголовок сообщения: Re: Собираю приёмники/передатчики/другие "частотные" схемы
СообщениеДобавлено: Ср июн 30, 2021 14:57:55 
Вымогатель припоя

Зарегистрирован: Вс сен 10, 2006 00:04:03
Сообщений: 546
Рейтинг сообщения: 0
куплю попкорна - за темой следить)

Добавлено after 2 minutes:
SAU писал(а):
без приборов он супер не настроит.

Да ладно)) Для простого приёмника и тестера хватит))

угу.особенно гетеродин в диапазон вогнать..


Вернуться наверх
 
 Заголовок сообщения: Re: Собираю приёмники/передатчики/другие "частотные" схемы
СообщениеДобавлено: Ср июн 30, 2021 15:18:39 
Друг Кота

Карма: 1
Рейтинг сообщений: 91
Зарегистрирован: Вт мар 13, 2012 12:16:13
Сообщений: 9060
Откуда: .ru
Рейтинг сообщения: 0
гетеродин в диапазон вогнать не сложно)) достаточно иметь второй (контрольный) приёмник.
Вложение:
1.jpg [72.4 KiB]
Скачиваний: 1115

Хотя лучше простой SDR-приемник (так называемый "свисток")
Вложение:
2.jpg [50.14 KiB]
Скачиваний: 704

Удобней подключить "свисток" к компу.
Вложение:
sdr.jpg [83.81 KiB]
Скачиваний: 977

:tea:


Вернуться наверх
 
 Заголовок сообщения: Re: Собираю приёмники/передатчики/другие "частотные" схемы
СообщениеДобавлено: Ср июн 30, 2021 15:35:23 
Друг Кота

Карма: 1
Рейтинг сообщений: 91
Зарегистрирован: Вт мар 13, 2012 12:16:13
Сообщений: 9060
Откуда: .ru
Рейтинг сообщения: 0
Из приборов только тестер.
"свисток" - это не прибор.
:))


Вернуться наверх
 
 Заголовок сообщения: Re: Собираю приёмники/передатчики/другие "частотные" схемы
СообщениеДобавлено: Ср июн 30, 2021 15:46:49 
Вымогатель припоя

Зарегистрирован: Вс сен 10, 2006 00:04:03
Сообщений: 546
Рейтинг сообщения: 0
да ладно словоблудием заниматься. Вы отлично все поняли.


Вернуться наверх
 
 Заголовок сообщения: Re: Собираю приёмники/передатчики/другие "частотные" схемы
СообщениеДобавлено: Ср июн 30, 2021 17:09:24 
Друг Кота

Карма: 49
Рейтинг сообщений: 550
Зарегистрирован: Чт фев 20, 2014 18:57:55
Сообщений: 19494
Рейтинг сообщения: 0
угу.особенно гетеродин в диапазон вогнать..

в любительский сложно, а в вещательный методом тыка можно ) я предлагал синтезатор, сейчас его сделать не сложнее нормального гетеродина с "вогнанием" его в диапазон, ну пару платок в китае заказать полезных придется, пригодятся по любому

_________________
"Вся военная пропаганда, все крики, ложь и ненависть исходят от людей, которые на эту войну не пойдут !" / Джордж Оруэлл /
"Война - это,когда за интересы других,гибнут совершенно безвинные люди." / Уинстон Черчилль /


Вернуться наверх
 
Показать сообщения за:  Сортировать по:  Вернуться наверх
Начать новую тему Ответить на тему  [ Сообщений: 4437 ]  1, , , , ...  

Часовой пояс: UTC + 3 часа


Вы не можете начинать темы
Вы не можете отвечать на сообщения
Вы не можете редактировать свои сообщения
Вы не можете удалять свои сообщения
Вы не можете добавлять вложения

Найти:
Перейти:  


Powered by phpBB © 2000, 2002, 2005, 2007 phpBB Group
Русская поддержка phpBB
Extended by Karma MOD © 2007—2012 m157y
Extended by Topic Tags MOD © 2012 m157y