Например TDA7294

Форум РадиоКот • Просмотр темы - Радио на коленке (Помогите собрать радио)
Форум РадиоКот
Здесь можно немножко помяукать :)

Текущее время: Сб мар 07, 2026 23:14:58

Часовой пояс: UTC + 3 часа


ПРЯМО СЕЙЧАС:



Начать новую тему Ответить на тему  [ Сообщений: 487 ]     ... , , , 24,  
Автор Сообщение
 Заголовок сообщения: Re: Радио на коленке (Помогите собрать радио)
СообщениеДобавлено: Пн июн 28, 2021 21:06:07 
Говорящий с текстолитом
Аватар пользователя

Зарегистрирован: Сб апр 17, 2021 12:24:15
Сообщений: 1521
Откуда: Украина
Рейтинг сообщения: 0
Я рад тому, что есть детали: ТВС, умножитель, динамик, какая-то микркха (ща фото добавлю) и фильтр по сети.

Добавлено after 1 hour 13 minutes 4 seconds:
Изображение


Вернуться наверх
 
 Заголовок сообщения: Re: Радио на коленке (Помогите собрать радио)
СообщениеДобавлено: Пн июн 28, 2021 21:10:38 
Друг Кота

Карма: 49
Рейтинг сообщений: 550
Зарегистрирован: Чт фев 20, 2014 18:57:55
Сообщений: 19494
Рейтинг сообщения: 0
Ни разу в жизни не пригодился какой то там непонятный ТВС и "какая то микросхема" из ТВ :)

_________________
"Вся военная пропаганда, все крики, ложь и ненависть исходят от людей, которые на эту войну не пойдут !" / Джордж Оруэлл /
"Война - это,когда за интересы других,гибнут совершенно безвинные люди." / Уинстон Черчилль /


Вернуться наверх
 
 Заголовок сообщения: Re: Радио на коленке (Помогите собрать радио)
СообщениеДобавлено: Пн июн 28, 2021 21:15:04 
Друг Кота
Аватар пользователя

Карма: 72
Рейтинг сообщений: 1165
Зарегистрирован: Чт ноя 20, 2008 04:20:48
Сообщений: 8107
Откуда: КурскЪ
Рейтинг сообщения: 0
24 страницы а приемника всё нет :))

_________________
Принимаю вас 595+40db на уровне шумов на кухонный приёмник,антенна наружка-магнитная катушка..работает "Акация",вот такая информация.Роман.73!!!
"50 КСВ 075", UA3112SWL
Изображение


Вернуться наверх
 
 Заголовок сообщения: Re: Радио на коленке (Помогите собрать радио)
СообщениеДобавлено: Пн июн 28, 2021 22:21:08 
Друг Кота

Карма: 1
Рейтинг сообщений: 91
Зарегистрирован: Вт мар 13, 2012 12:16:13
Сообщений: 8998
Откуда: .ru
Рейтинг сообщения: 2
ТВС, умножитель, динамик, какая-то микркха (ща фото добавлю) и фильтр по сети

Всё это нафиг никому не нужно)) Это мусор))
Для приёмника (и радиостанции) в телике есть хорошие высокочастотные малошумящие транзисторы, диоды и варикапы. Всё это в СКД-24, СКМ-24, СМРК...
:tea:


Вернуться наверх
 
Эиком - электронные компоненты и радиодетали
 Заголовок сообщения: Re: Радио на коленке (Помогите собрать радио)
СообщениеДобавлено: Пн июн 28, 2021 22:59:54 
Друг Кота

Карма: 49
Рейтинг сообщений: 550
Зарегистрирован: Чт фев 20, 2014 18:57:55
Сообщений: 19494
Рейтинг сообщения: 0
24 страницы а приемника всё нет :))

Был, работал, не совсем до ума доведенный, но сойдет, можно двигаться дальше :)) был бы толк сейчас от СВ можно было бы с ним позаморачиваться, а так...

_________________
"Вся военная пропаганда, все крики, ложь и ненависть исходят от людей, которые на эту войну не пойдут !" / Джордж Оруэлл /
"Война - это,когда за интересы других,гибнут совершенно безвинные люди." / Уинстон Черчилль /


Вернуться наверх
 
 Заголовок сообщения: Re: Радио на коленке (Помогите собрать радио)
СообщениеДобавлено: Пн июн 28, 2021 23:26:44 
Друг Кота
Аватар пользователя

Карма: 197
Рейтинг сообщений: 8640
Зарегистрирован: Пн ноя 30, 2009 03:00:01
Сообщений: 43573
Откуда: Нерезиновая
Рейтинг сообщения: 0
Я рад тому, что есть детали: ТВС, умножитель, динамик, какая-то микркха и фильтр по сети.

Микруха бесполезна- это декодер сигналов цветности, ТВС, только если захотите "плазменную лампу" сделать, и то- это не самый лёгкий путь.. :)))
динамик- должно быть ДВА динамика-
Изображение

Только вы не торопитесь быстренько раскидывать всё это "богатство" на составные части- на базе СКМ-24 и СМРК можно попытаться сделать УКВ приёмник, который будет принимать и ФМ и УКВ диапазон, так как УКВ 66-72 МГц находится между 2 и 3 ТВ каналами, а 88-108 - между 5 и 6 ТВ каналами, а стандарт звука у нас- ЧАСТОТНАЯ модуляция.
https://radiostorage.net/3635-ukv-radio ... -usct.html


Вернуться наверх
 
 Заголовок сообщения: Re: Радио на коленке (Помогите собрать радио)
СообщениеДобавлено: Пн июн 28, 2021 23:45:40 
Друг Кота
Аватар пользователя

Карма: 107
Рейтинг сообщений: 3335
Зарегистрирован: Сб фев 11, 2017 15:59:13
Сообщений: 14960
Откуда: 57 RUS
Рейтинг сообщения: 0
Niobium писал(а):
какая-то микркхаИзображение

Декодер сигналов цветности PAL, кто-то каца искал похожий тут, или на rt20.mybb2.ru.

Niobium писал(а):
Я рад тому, что есть детали

Перед утилизацией кинескопа раздавите пассатижами на горловине стеклянную пипку, где находится панелька, дабы внутрь зашёл воздух. Далее найдите конец бандажа, и вначале подденте отвёрткой конец бандажной ленты, и зацепившись пассатижами за стальную ленту, сорвите точечную сварку вначале, и смотайте бандаж. Бандажная лента довольно полезная вещь в хозяйстве.

Можно соблюдая меры предосторожности!!! расхерачить кувалдочкой стекло экрана кинескопа, и добыть внутри стальную маску, и из неё фильтр для бензина сделать. :)

_________________
НАРОДОВЛАСТИЕ а не кланово-олигархическая дерьмократия!!!
Цифровому рабству, навязываемому цифровым олигархатом - НЕТ!


Вернуться наверх
 
 Заголовок сообщения: Re: Радио на коленке (Помогите собрать радио)
СообщениеДобавлено: Вт июн 29, 2021 11:06:27 
Вымогатель припоя
Аватар пользователя

Карма: 13
Рейтинг сообщений: 158
Зарегистрирован: Вс фев 01, 2015 08:56:13
Сообщений: 684
Откуда: елбасстан
Рейтинг сообщения: 0
маска же не стальная?

_________________
t.me/UN7FIL <== радиолюбительские полезности


Вернуться наверх
 
 Заголовок сообщения: Re: Радио на коленке (Помогите собрать радио)
СообщениеДобавлено: Вт июн 29, 2021 12:50:43 
Друг Кота
Аватар пользователя

Карма: 107
Рейтинг сообщений: 3335
Зарегистрирован: Сб фев 11, 2017 15:59:13
Сообщений: 14960
Откуда: 57 RUS
Рейтинг сообщения: 2
DJ_club писал(а):
маска же не стальная?

Поначалу теневые маски делали из стальной фольги, более современные из инвара (InVar) - магнитного сплав железа 64% с никелем 36%.
У меня в гараже лежат куски масок, как из советского кинескопа, так из импортных, из чего конкретно, не вникал.
Там внутри кинескопа ещё бронзовые упругие прижимы добыть можно, которые на рамки крепятся, по виду из тонкой упругой берилевой бронзы, иногда пригождаются.

Добавлено after 41 minute 7 seconds:
Вот нашёл и сфоткал упругие прижимы, добытые из кинескопов:
Изображение

_________________
НАРОДОВЛАСТИЕ а не кланово-олигархическая дерьмократия!!!
Цифровому рабству, навязываемому цифровым олигархатом - НЕТ!


Вернуться наверх
 
 Заголовок сообщения: Re: Радио на коленке (Помогите собрать радио)
СообщениеДобавлено: Вт июн 29, 2021 18:43:50 
Говорящий с текстолитом
Аватар пользователя

Зарегистрирован: Сб апр 17, 2021 12:24:15
Сообщений: 1521
Откуда: Украина
Рейтинг сообщения: 0
Радио спаял на макетке. Не работает.

Вечером засниму видосик.

Добавлено after 51 second:
P.s. Работает, но с помощью танцев с бубном.


Вложения:
4321.jpg [234.61 KiB]
Скачиваний: 156
1234.jpg [232.49 KiB]
Скачиваний: 220
Вернуться наверх
 
 Заголовок сообщения: Re: Радио на коленке (Помогите собрать радио)
СообщениеДобавлено: Вт июн 29, 2021 18:49:28 
Собутыльник Кота

Карма: 14
Рейтинг сообщений: 472
Зарегистрирован: Вс фев 02, 2020 09:12:37
Сообщений: 2804
Рейтинг сообщения: 0
видео никому не нужно, нужна схема и измеренные напряжения на коллекторах транзисторов для начала...
Изображение
на какой частоте ближайшая радиостанция (549 или 1431 кГц) ?


Вернуться наверх
 
 Заголовок сообщения: Re: Радио на коленке (Помогите собрать радио)
СообщениеДобавлено: Вт июн 29, 2021 19:01:24 
Говорящий с текстолитом
Аватар пользователя

Зарегистрирован: Сб апр 17, 2021 12:24:15
Сообщений: 1521
Откуда: Украина
Рейтинг сообщения: 0
Хм... померял и там реально что-то не так

На 1 транзисторе - 0.5-1В, а на 2 - 0-4В. На обеих стоят подстроечные резисторы на 500КОм. (R1,R3)

Добавлено after 1 minute 7 seconds:
Все детали проверял на тестере деталей.

Добавлено after 2 minutes 39 seconds:
Цитата:
на какой частоте ближайшая радиостанция (549 или 1431 кГц) ?


549 КГц


Вернуться наверх
 
 Заголовок сообщения: Re: Радио на коленке (Помогите собрать радио)
СообщениеДобавлено: Вт июн 29, 2021 19:16:13 
Собутыльник Кота

Карма: 14
Рейтинг сообщений: 472
Зарегистрирован: Вс фев 02, 2020 09:12:37
Сообщений: 2804
Рейтинг сообщения: 0
тебе писали как устанавливать режим (или вообще не устанавливать), тебе лень читать, а мне - писать повторно...)))))


Вернуться наверх
 
 Заголовок сообщения: Re: Радио на коленке (Помогите собрать радио)
СообщениеДобавлено: Вт июн 29, 2021 20:06:32 
Говорящий с текстолитом
Аватар пользователя

Зарегистрирован: Сб апр 17, 2021 12:24:15
Сообщений: 1521
Откуда: Украина
Рейтинг сообщения: 0
Просто в моём понятии режим транзистора - это ключевой, усиление, инверсный.

Вроде и так установлен режим усиления :dont_know:

R1 и R3 устанавливают смещение на транзисторах.

Добавлено after 44 minutes 25 seconds:
Ладно. Я думаю, что в схеме что-то не так потому, что в навесе и на макетке возбуд. Буду собирать уже другой тип приёмников.


Вернуться наверх
 
 Заголовок сообщения: Re: Радио на коленке (Помогите собрать радио)
СообщениеДобавлено: Вт июн 29, 2021 20:09:50 
Друг Кота
Аватар пользователя

Карма: 72
Рейтинг сообщений: 1165
Зарегистрирован: Чт ноя 20, 2008 04:20:48
Сообщений: 8107
Откуда: КурскЪ
Рейтинг сообщения: 0
На коллекторах VT1,VT2 должно быть около 4.5в вольт при питании схемы 9в.
Устанавливается резисторами R1 и R3 соответственно.
В УНЧ на эмиттерах VT4,VT5 4.5в,устанавливается резистором R6.
Изображение

_________________
Принимаю вас 595+40db на уровне шумов на кухонный приёмник,антенна наружка-магнитная катушка..работает "Акация",вот такая информация.Роман.73!!!
"50 КСВ 075", UA3112SWL
Изображение


Вернуться наверх
 
 Заголовок сообщения: Re: Радио на коленке (Помогите собрать радио)
СообщениеДобавлено: Вт июн 29, 2021 20:22:42 
Говорящий с текстолитом
Аватар пользователя

Зарегистрирован: Сб апр 17, 2021 12:24:15
Сообщений: 1521
Откуда: Украина
Рейтинг сообщения: 0
Есть такая схема радио в которой можно будет менять части схемы (модули?) и тем самым менять диапазоны?

Допустим хочу послушать 549КГц - магнитная антенна и модуль А. Потом испанцев на 2000м (частоту лень считать) - модуль Б. И ещё потом КВ - модуль В.

И ещё вопрос - отличаются ли детекторы на АМ и ЧМ?


Вернуться наверх
 
 Заголовок сообщения: Re: Радио на коленке (Помогите собрать радио)
СообщениеДобавлено: Вт июн 29, 2021 20:26:30 
Друг Кота
Аватар пользователя

Карма: 72
Рейтинг сообщений: 1165
Зарегистрирован: Чт ноя 20, 2008 04:20:48
Сообщений: 8107
Откуда: КурскЪ
Рейтинг сообщения: 0
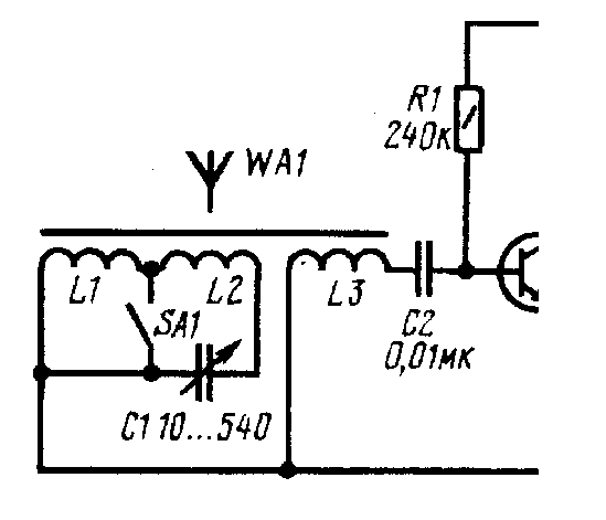
Этот как ты назвал модуль называется колебательным контуром.))
На схеме L1C1.
От диапазона частоты перестройки колебательного контура и зависит принимаемый диапазон.
Почитай книжку про радиоприемники для начинающих.
Да отличаются.
Изображение


Магнитная антенна
http://radiobooka.ru/antenn/47-magnitna ... -vsex.html

_________________
Принимаю вас 595+40db на уровне шумов на кухонный приёмник,антенна наружка-магнитная катушка..работает "Акация",вот такая информация.Роман.73!!!
"50 КСВ 075", UA3112SWL
Изображение


Вернуться наверх
 
 Заголовок сообщения: Re: Радио на коленке (Помогите собрать радио)
СообщениеДобавлено: Вт июн 29, 2021 20:39:35 
Говорящий с текстолитом
Аватар пользователя

Зарегистрирован: Сб апр 17, 2021 12:24:15
Сообщений: 1521
Откуда: Украина
Рейтинг сообщения: 0
Я не про то. У меня есть приёмник VEF 201 и внутри него барабан, который переключает диапазоны. Вот что-то типа такого.


Вернуться наверх
 
 Заголовок сообщения: Re: Радио на коленке (Помогите собрать радио)
СообщениеДобавлено: Вт июн 29, 2021 20:49:56 
Друг Кота
Аватар пользователя

Карма: 72
Рейтинг сообщений: 1165
Зарегистрирован: Чт ноя 20, 2008 04:20:48
Сообщений: 8107
Откуда: КурскЪ
Рейтинг сообщения: 0
Это делается вот так в приемниках прямого усиления.
Изображение
Изображение
На ДВ много помех и очень мало станций.
Тут нужен нормальный супергетеродинный приемник.
Единственное что ты еще можешь у себя принять на ДВ это поляков на 225кГц.
На СВ станций намного больше.


Вложения:
вц.PNG [3.3 KiB]
Скачиваний: 290
вц.JPG [10.49 KiB]
Скачиваний: 305

_________________
Принимаю вас 595+40db на уровне шумов на кухонный приёмник,антенна наружка-магнитная катушка..работает "Акация",вот такая информация.Роман.73!!!
"50 КСВ 075", UA3112SWL
Изображение
Вернуться наверх
 
 Заголовок сообщения: Re: Радио на коленке (Помогите собрать радио)
СообщениеДобавлено: Вт июн 29, 2021 20:54:36 
Говорящий с текстолитом
Аватар пользователя

Зарегистрирован: Сб апр 17, 2021 12:24:15
Сообщений: 1521
Откуда: Украина
Рейтинг сообщения: 0
Ладно. Пока отложу эту идею. Сейчас надо найти хорошую схему супергетеродина (и книгу про него скачать).

А радио прямого усиления отложу на доработку.

Добавлено after 2 minutes 4 seconds:
Цитата:
Единственное что ты еще можешь у себя принять на ДВ это поляков на 225кГц.
На СВ станций намного больше.


На даче, испанцы примерно на 150КГц. Слышно хорошо.


Вернуться наверх
 
Показать сообщения за:  Сортировать по:  Вернуться наверх
Начать новую тему Ответить на тему  [ Сообщений: 487 ]     ... , , , 24,  

Часовой пояс: UTC + 3 часа


Вы не можете начинать темы
Вы не можете отвечать на сообщения
Вы не можете редактировать свои сообщения
Вы не можете удалять свои сообщения
Вы не можете добавлять вложения

Найти:
Перейти:  


Powered by phpBB © 2000, 2002, 2005, 2007 phpBB Group
Русская поддержка phpBB
Extended by Karma MOD © 2007—2012 m157y
Extended by Topic Tags MOD © 2012 m157y