Например TDA7294

Форум РадиоКот • Просмотр темы - Как научиться читать электрические схемы?
Форум РадиоКот
Здесь можно немножко помяукать :)

Текущее время: Ср ноя 05, 2025 14:21:40

Часовой пояс: UTC + 3 часа


ПРЯМО СЕЙЧАС:



Начать новую тему Ответить на тему  [ Сообщений: 184 ]     ... , , , , 10
Автор Сообщение
Не в сети
 Заголовок сообщения: Re: Как научиться читать электрические схемы?
СообщениеДобавлено: Сб дек 17, 2011 09:03:16 
Модератор
Аватар пользователя

Карма: 162
Рейтинг сообщений: 2421
Зарегистрирован: Пн июл 07, 2008 10:46:09
Сообщений: 10734
Откуда: Россия
Рейтинг сообщения: 0
У Айсберга вместо поршня резиновая мембрана, которая растягивается при приложенном давлении воды. Это чуть лучше объясняет работу конденсатора.

_________________
Если хотите, чтобы жизнь улыбалась вам, подарите ей своё хорошее настроение


Вернуться наверх
 
Не в сети
 Заголовок сообщения: Re: Как научиться читать электрические схемы?
СообщениеДобавлено: Сб дек 17, 2011 09:13:34 
Друг Кота
Аватар пользователя

Карма: 50
Рейтинг сообщений: 1398
Зарегистрирован: Пт авг 28, 2009 21:34:30
Сообщений: 7315
Откуда: 845-й км.
Рейтинг сообщения: 0
Медали: 1
Получил миской по аватаре (1)
я тож сначала написал мембрана. но мембрана обладает своей упругостью. из-за чего возникает мысль, что
Gust2002 писал(а):
а после этого он стремиться разрядиться (но ток не пропускает).
Хотя все это уродливые аналогии и ничего больше.

_________________
А люди посмотрят и скажут: "Собаки летят. Вот и осень."


Вернуться наверх
 
Не в сети
 Заголовок сообщения: Re: Как научиться читать электрические схемы?
СообщениеДобавлено: Вс дек 18, 2011 10:47:54 
Родился

Зарегистрирован: Чт дек 15, 2011 09:54:56
Сообщений: 17
Рейтинг сообщения: 0
uldemir писал(а):
Хотя все это уродливые аналогии и ничего больше.

Правильно подобранная аналогия способна существенно сократить время обучение. Проблема в том, что для каждого человека она индивидуальна...
Собрал я вибратор и он заработал. Просветления пока не пришло, поэтому спрашивать по принципам работы сейчас не буду. Всем спасибо за поддержку.


Вернуться наверх
 
Не в сети
 Заголовок сообщения: Re: Как научиться читать электрические схемы?
СообщениеДобавлено: Вс дек 18, 2011 12:41:57 
Родился

Зарегистрирован: Пн дек 12, 2011 12:08:43
Сообщений: 5
Рейтинг сообщения: 0
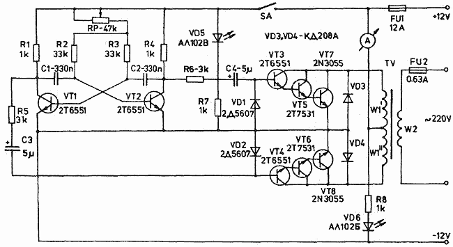
А можете ещё объяснить такие понятия как "обратный ток" и "обратное напряжение"? Мучаю всю ту же схему инвертора. Вот в ней все диоды, как я понимаю, смещены в обратном направлении. Получается они не пропускают ток не в одну сторону? или всё же какой-то проходит, но можно им пренебречь, или нельзя пренебрегать?

И ещё, вроде понял что диоды 3,4 защищают транзисторы от выбросов трансформатора, когда во вторичной обмотке отсутствует нагрузка, т.е. на холостом ходу, но не могу понять сам принцип "как?", как именно они защищают транзисторы. Вот, к примеру, если рассмотреть верхний рукав. Ток идёт с источника на трансформатор на обмотку W1(штрих), если нагрузки во вторичной обмотке нету, то трансформация не происходит и этот ток+самоиндукция бросаются дальше по цепи к транзисторам. Дальше моего понимания и представления хватает лишь на предположения, что основная часть тока уйдёт на диод VD3, а на коллектор придёт уже незначительный ток.
Подскажите, или может направьте на какую-нибудь литературу, какую можно почитать, чтобы разобраться в этих процессах.


Вложения:
5-88-1.gif [16.19 KiB]
Скачиваний: 544
Вернуться наверх
 
Эиком - электронные компоненты и радиодетали
Показать сообщения за:  Сортировать по:  Вернуться наверх
Начать новую тему Ответить на тему  [ Сообщений: 184 ]     ... , , , , 10

Часовой пояс: UTC + 3 часа


Кто сейчас на форуме

Сейчас этот форум просматривают: нет зарегистрированных пользователей и гости: 27


Вы не можете начинать темы
Вы не можете отвечать на сообщения
Вы не можете редактировать свои сообщения
Вы не можете удалять свои сообщения
Вы не можете добавлять вложения

Найти:
Перейти:  


Powered by phpBB © 2000, 2002, 2005, 2007 phpBB Group
Русская поддержка phpBB
Extended by Karma MOD © 2007—2012 m157y
Extended by Topic Tags MOD © 2012 m157y