Например TDA7294

Форум РадиоКот • Просмотр темы - Триггер
Форум РадиоКот
Здесь можно немножко помяукать :)

Текущее время: Пн янв 26, 2026 20:47:58

Часовой пояс: UTC + 3 часа


ПРЯМО СЕЙЧАС:



Начать новую тему Ответить на тему  [ Сообщений: 12 ] 
Автор Сообщение
Не в сети
 Заголовок сообщения: Триггер
СообщениеДобавлено: Чт сен 18, 2008 21:12:03 
Встал на лапы
Аватар пользователя

Зарегистрирован: Пт апр 25, 2008 12:48:53
Сообщений: 108
Откуда: Москва
Рейтинг сообщения: 0
В книге Виктора Пекелиса "Кибернетика от А до Я" есть схема (см. рис.
Можно у вас попросить аналогичную по-сложности (дез микросхем) и кол-ву деталей, и с конкретными наминаламиэлементов. Посьба использовать транзисторы МП25, МП35, МП39-МП41, хотя на крайний случай можно и другие того времени.
Рисунок: http://forum.cxem.net/index.php?act=attach&type=post&id=31030


Вернуться наверх
 
Не в сети
 Заголовок сообщения:
СообщениеДобавлено: Чт сен 18, 2008 21:26:04 
Открыл глаза
Аватар пользователя

Зарегистрирован: Вт авг 12, 2008 18:25:21
Сообщений: 72
Откуда: Санкт - Петербург
Рейтинг сообщения: 0
Похоже на обычный мультивибратор
http://radiokot.ru/start/analog/practice/04/


Вернуться наверх
 
Не в сети
 Заголовок сообщения:
СообщениеДобавлено: Пт сен 19, 2008 06:39:49 
Модератор
Аватар пользователя

Карма: 162
Рейтинг сообщений: 2441
Зарегистрирован: Пн июл 07, 2008 10:46:09
Сообщений: 10736
Откуда: Россия
Рейтинг сообщения: 0
Для p-n-p транзисторов нужно поменять полярность питания и электролитических конденсаторов. Частоту можно регулировать с помощью R2, R3 или изменяя емкость.

_________________
Если хотите, чтобы жизнь улыбалась вам, подарите ей своё хорошее настроение


Вернуться наверх
 
Не в сети
 Заголовок сообщения:
СообщениеДобавлено: Пт сен 19, 2008 14:53:00 
Встал на лапы
Аватар пользователя

Зарегистрирован: Пт апр 25, 2008 12:48:53
Сообщений: 108
Откуда: Москва
Рейтинг сообщения: 0
хорошо, я собираю онологичный мультивибратор, но куда подавать питание, от куда считовать бит, куда записывать? И какие номиналы деталей применять? Вообще можно по подробний про запись и считование.


Вернуться наверх
 
Эиком - электронные компоненты и радиодетали
Не в сети
 Заголовок сообщения:
СообщениеДобавлено: Пт сен 19, 2008 14:56:52 
Модератор
Аватар пользователя

Карма: 162
Рейтинг сообщений: 2441
Зарегистрирован: Пн июл 07, 2008 10:46:09
Сообщений: 10736
Откуда: Россия
Рейтинг сообщения: 0
А причем здесь запись и считывание битов? Это же мультивибратор, а не триггер.

_________________
Если хотите, чтобы жизнь улыбалась вам, подарите ей своё хорошее настроение


Вернуться наверх
 
Не в сети
 Заголовок сообщения:
СообщениеДобавлено: Пт сен 19, 2008 15:53:19 
Встал на лапы
Аватар пользователя

Зарегистрирован: Пт апр 25, 2008 12:48:53
Сообщений: 108
Откуда: Москва
Рейтинг сообщения: 0
А название темы вы не читали?
Это я бы у вас хотел спросить почему мультивибратор? Но потом подумал, так как здесь все умеют читать, и прочитали это:
Цитата:
есть схема (см. рис.
Можно у вас попросить аналогичную по-сложности (дез микросхем) и кол-ву деталей

и соответственно пожертвовали схемкой.

Жаль, что оказалось не так.[/url]


Вернуться наверх
 
Не в сети
 Заголовок сообщения:
СообщениеДобавлено: Пт сен 19, 2008 17:12:11 
Модератор
Аватар пользователя

Карма: 162
Рейтинг сообщений: 2441
Зарегистрирован: Пн июл 07, 2008 10:46:09
Сообщений: 10736
Откуда: Россия
Рейтинг сообщения: 0
http://mpek2006.narod.ru/Glava_12/12_2.pdf

_________________
Если хотите, чтобы жизнь улыбалась вам, подарите ей своё хорошее настроение


Вернуться наверх
 
Не в сети
 Заголовок сообщения:
СообщениеДобавлено: Сб сен 20, 2008 16:09:06 
Встал на лапы
Аватар пользователя

Зарегистрирован: Пт апр 25, 2008 12:48:53
Сообщений: 108
Откуда: Москва
Рейтинг сообщения: 0
если подключить последовательно баьарейку и лампочку к Ек, то лампочка загоритсч, а если теперь подать импульс на Uвх, то она потухнет и т.д.
Правильно?


Вложения:
триггер.GIF [5.12 KiB]
Скачиваний: 496
Вернуться наверх
 
Не в сети
 Заголовок сообщения:
СообщениеДобавлено: Сб сен 20, 2008 16:14:30 
Модератор
Аватар пользователя

Карма: 162
Рейтинг сообщений: 2441
Зарегистрирован: Пн июл 07, 2008 10:46:09
Сообщений: 10736
Откуда: Россия
Рейтинг сообщения: 0
Нет

_________________
Если хотите, чтобы жизнь улыбалась вам, подарите ей своё хорошее настроение


Вернуться наверх
 
Не в сети
 Заголовок сообщения:
СообщениеДобавлено: Сб сен 20, 2008 17:32:34 
Друг Кота
Аватар пользователя

Карма: 28
Рейтинг сообщений: 267
Зарегистрирован: Ср сен 27, 2006 16:18:57
Сообщений: 3459
Рейтинг сообщения: 0
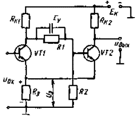
iff, схема, которую вы взяли по ссылке, которую дала Света, это не счётный триггер, а триггер Шмидта. Там же дана диаграмма его работы. Смысл его в том, что при медленном возрастании входного тока транзистора VT1, при достижении этим током некоторого порогового значения, транзистор VT1 очень быстро открывается, а VT2 закрывается. И это состояние сохраняется до тех пор, пока входной ток не начнёт уменьшаться. Опять же, при медленном уменьшении входного тока транзистора VT1, до некоторого порогового значения, транзистор VT1 очень быстро закрывается, а VT2 открывается.
Применяется как пороговое устройство или для формирования прямоугольных импульсов из медленно изменяющегося сигнала.


Вернуться наверх
 
Не в сети
 Заголовок сообщения:
СообщениеДобавлено: Сб сен 20, 2008 19:32:48 
Встал на лапы
Аватар пользователя

Зарегистрирован: Пт апр 25, 2008 12:48:53
Сообщений: 108
Откуда: Москва
Рейтинг сообщения: 0
Если подать питание на Ек и Еб, то на Q будет 0. Теперь если на Uвх1 подать импульс, то на Q будет 1, а если на Uвх2 подать импульс, то на Q будет 0. Так?
Если так, то какие именно наминалы деталей использовать?


Вложения:
триггер.GIF [9.37 KiB]
Скачиваний: 515
Вернуться наверх
 
Не в сети
 Заголовок сообщения:
СообщениеДобавлено: Вс сен 21, 2008 16:07:47 
Встал на лапы
Аватар пользователя

Зарегистрирован: Пт апр 25, 2008 12:48:53
Сообщений: 108
Откуда: Москва
Рейтинг сообщения: 0
Света, так будет работать?


Вернуться наверх
 
Показать сообщения за:  Сортировать по:  Вернуться наверх
Начать новую тему Ответить на тему  [ Сообщений: 12 ] 

Часовой пояс: UTC + 3 часа


Кто сейчас на форуме

Сейчас этот форум просматривают: нет зарегистрированных пользователей и гости: 15


Вы не можете начинать темы
Вы не можете отвечать на сообщения
Вы не можете редактировать свои сообщения
Вы не можете удалять свои сообщения
Вы не можете добавлять вложения

Найти:
Перейти:  


Powered by phpBB © 2000, 2002, 2005, 2007 phpBB Group
Русская поддержка phpBB
Extended by Karma MOD © 2007—2012 m157y
Extended by Topic Tags MOD © 2012 m157y