Например TDA7294

Форум РадиоКот • Просмотр темы - Усилитель на 70ВТ с выходом 100В
Форум РадиоКот
Здесь можно немножко помяукать :)

Текущее время: Вт ноя 11, 2025 00:03:13

Часовой пояс: UTC + 3 часа


ПРЯМО СЕЙЧАС:



Начать новую тему Ответить на тему  [ Сообщений: 13 ] 
Автор Сообщение
Не в сети
 Заголовок сообщения: Усилитель на 70ВТ с выходом 100В
СообщениеДобавлено: Вс окт 14, 2012 18:20:54 
Родился

Зарегистрирован: Вс окт 14, 2012 18:18:01
Сообщений: 5
Рейтинг сообщения: 0
Это что-то вроде питания для пьезоэлементов. Нужно сделать генератор прямоугольных импульсов, потом преобразовать их в синусоидальные и усилить.


Вернуться наверх
 
Не в сети
 Заголовок сообщения: Re: Как преобразовать прямоугольный импульс в синусоидальный
СообщениеДобавлено: Вс окт 14, 2012 18:45:28 
Друг Кота

Зарегистрирован: Ср май 05, 2010 13:31:29
Сообщений: 6900
Рейтинг сообщения: 0
Медали: 1
Получил миской по аватаре (1)
LC цепь в помощь.

_________________
Спасибо за внимание.


Вернуться наверх
 
Не в сети
 Заголовок сообщения: Re: Как преобразовать прямоугольный импульс в синусоидальный
СообщениеДобавлено: Вс окт 14, 2012 19:05:45 
Родился

Зарегистрирован: Вс окт 14, 2012 18:18:01
Сообщений: 5
Рейтинг сообщения: 0
А.Андрей, собрал, но как согласовать периоды? Ибо выходит вот такая хрень, первоначальная частота импульсов - 800КГц


Вложения:
Комментарий к файлу: Первоначальный сигнал и синусоида
Снимок.JPG [16.16 KiB]
Скачиваний: 626
Вернуться наверх
 
Не в сети
 Заголовок сообщения: Re: Как преобразовать прямоугольный импульс в синусоидальный
СообщениеДобавлено: Вс окт 14, 2012 19:18:22 
Опытный кот
Аватар пользователя

Карма: 12
Рейтинг сообщений: 6
Зарегистрирован: Вт окт 27, 2009 21:27:21
Сообщений: 764
Откуда: Ульяновск
Рейтинг сообщения: 0
А почему бы сразу синус не формировать? Например, посмотри в сторону DDS-синтезаторов. http://www.kit-e.ru/articles/powersource/2005_1_28.php


Вернуться наверх
 
Эиком - электронные компоненты и радиодетали
Не в сети
 Заголовок сообщения: Re: Как преобразовать прямоугольный импульс в синусоидальный
СообщениеДобавлено: Вс окт 14, 2012 19:25:36 
Родился

Зарегистрирован: Вс окт 14, 2012 18:18:01
Сообщений: 5
Рейтинг сообщения: 0
D.VOVA, не, мне поставили именно такую задачу. Генератор на (800+-10) Гц, но нужно, что бы периоды прямоугольного сигнала и синусоиды совпадали. А у меня что то никак это не получается.


Вернуться наверх
 
Не в сети
 Заголовок сообщения: Re: Как преобразовать прямоугольный импульс в синусоидальный
СообщениеДобавлено: Вс окт 14, 2012 19:31:43 
Поставщик валерьянки для Кота
Аватар пользователя

Карма: 29
Рейтинг сообщений: 354
Зарегистрирован: Вс июл 11, 2010 14:39:04
Сообщений: 2458
Откуда: Россия.
Рейтинг сообщения: 0
Но Вам же уже на десятке форумов ответили, что нужно пропустить эти импульсы через ФНЧ в Вашем случае с частотой среза порядка 1 кгц.
Вы же этим элементарным вопросом весь интернет завалили. :)
https://www.google.ru/search?hl=ru&lr=& ... 24&bih=609


Вернуться наверх
 
Не в сети
 Заголовок сообщения: Re: Как преобразовать прямоугольный импульс в синусоидальный
СообщениеДобавлено: Вс окт 14, 2012 19:40:00 
Модератор
Аватар пользователя

Карма: 120
Рейтинг сообщений: 1088
Зарегистрирован: Пн дек 08, 2008 19:28:04
Сообщений: 22845
Откуда: 10км от Москвы на Север
Рейтинг сообщения: 0
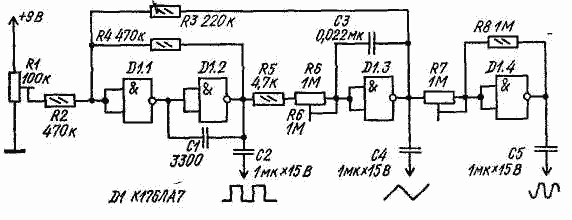
mpg756 писал(а):
Нужно сделать генератор прямоугольных импульсов, потом преобразовать их в синусоидальные ...


Вложения:
r7-40.gif [9.26 KiB]
Скачиваний: 659
generator.jpg [84.26 KiB]
Скачиваний: 627
5051-20071022121035806.jpg [61.75 KiB]
Скачиваний: 332
2012-01-06_162954.gif [169.16 KiB]
Скачиваний: 338
2011-11-16_212132.gif [5.29 KiB]
Скачиваний: 605
01 (3).gif [8.92 KiB]
Скачиваний: 2057
Вернуться наверх
 
Не в сети
 Заголовок сообщения: Re: Как преобразовать прямоугольный импульс в синусоидальный
СообщениеДобавлено: Вс окт 14, 2012 20:54:14 
Друг Кота
Аватар пользователя

Карма: 43
Рейтинг сообщений: 167
Зарегистрирован: Вс янв 25, 2009 21:16:04
Сообщений: 35639
Откуда: Москва
Рейтинг сообщения: 0
Последняя картинка: 01 (3).gif [8.92 KiB] = полная лажа! Вы когда принимаете её в архив, хотя бы проверьте.

Изображение

_________________
А поболтать?


Вернуться наверх
 
Не в сети
 Заголовок сообщения: Re: Как преобразовать прямоугольный импульс в синусоидальный
СообщениеДобавлено: Пн окт 15, 2012 19:05:54 
Модератор
Аватар пользователя

Карма: 120
Рейтинг сообщений: 1088
Зарегистрирован: Пн дек 08, 2008 19:28:04
Сообщений: 22845
Откуда: 10км от Москвы на Север
Рейтинг сообщения: 0
А я думаю, что на определённых частотах от неё можно тоже кое-чего добиться.
К тому же все схемы даны для примера и экспериментов и для конкретной задачи могут быть изменены ... :)


Вернуться наверх
 
Не в сети
 Заголовок сообщения: Усилитель на 70ВТ с выходом 100В
СообщениеДобавлено: Вс дек 02, 2012 16:02:59 
Родился

Зарегистрирован: Вс окт 14, 2012 18:18:01
Сообщений: 5
Рейтинг сообщения: 0
Нуден усилитель 70ВТ с выходным напряжением 100В на частоте 800кГц. Входное напряжение 2,2-2,5 В. Кто знает помогите, очень надо!



Тема дубль.
Уже есть Ваша тема по данному вопросу.
Сюда перенес.

aen


Вернуться наверх
 
Не в сети
 Заголовок сообщения: Re: Усилитель на 70ВТ с выходом 100В
СообщениеДобавлено: Вс дек 02, 2012 21:22:51 
Вымогатель припоя
Аватар пользователя

Зарегистрирован: Сб окт 20, 2012 18:01:06
Сообщений: 613
Откуда: Москва
Рейтинг сообщения: 0
mpg756 писал(а):
Нуден усилитель 70ВТ с выходным напряжением 100В на частоте 800кГц.

Да это... радиопередатчик между прочим :)
И что, на выходе должны быть прямоугольные импульсы с частотой 800 кГц?

_________________
Иногда мне кажется, что... Тогда я заглядываю в "МЯЯЯУ!" и немедленно убеждаюсь в обратном.


Вернуться наверх
 
Не в сети
 Заголовок сообщения: Re: Усилитель на 70ВТ с выходом 100В
СообщениеДобавлено: Пн дек 03, 2012 00:10:44 
Друг Кота
Аватар пользователя

Карма: 50
Рейтинг сообщений: 757
Зарегистрирован: Чт дек 29, 2005 00:18:30
Сообщений: 6558
Откуда: Москва
Рейтинг сообщения: 0
Это готовая установка ТВЧ, проще конечно на лампе сделать. Пара ГУ-50, схемотехника средневолновых передатчиков. Для радиолюбителя КВшника старой школы ерундовая задача. Возбуждать конечно от звукового генератора. Или купить сразу генератор на этот диапазон с соответствующей мощностью, у нас в лаборатории (кстати как раз для пьезоэлементов раскачки) использовали Г4-68, он 100 кгц-30 Мгц с выходом до 100 вольт и настройкой выхода на нагрузку. Правда у него ватт 5 на выходе, бустер всё равно надо будет делать. Если сами передатчики не делали... не сделаете за разумное время. На транзисторах вообще не стоит, при переменной нагрузке и без опыта пожжёте кучу, а они дорогие на такие мощности.

_________________
Ничто так не укрепляет взаимное доверие, как 100% предоплата! Дмитрий, ex-RK3AOR.


Вернуться наверх
 
Не в сети
 Заголовок сообщения: Re: Усилитель на 70ВТ с выходом 100В
СообщениеДобавлено: Вт дек 04, 2012 22:25:51 
Родился

Карма: 1
Рейтинг сообщений: 0
Зарегистрирован: Пн мар 21, 2011 19:20:25
Сообщений: 13
Рейтинг сообщения: 0
Borodach, подтверждаю слова Brigadir(а), схема не выдаёт на выходе, то что нарисовано, прямоугольные импульсы, ещё куда ни шло, треугольные можно назвать треугольными только очень отдалённо, синусоида имела вид ну совсем ни синусоидальный. Купился на простоту. Так что лучше пробразователя на LC, из прямоугольника в синусоиду, из простых, пока не видел.
mpg756 писал(а):
Это что-то вроде питания для пьезоэлементов. Нужно сделать генератор прямоугольных импульсов, потом преобразовать их в синусоидальные и усилить.

mpg756 где это вы такую керамику нашли. Мне попалась только на 120кГц. Если вас эта тема ещё интересует, то на следующее неделе пробую запустить нечто подобное, только на 120кГц, если получится напишу, а перестроить на 800кГц думаю тоже будет можно.


Вернуться наверх
 
Показать сообщения за:  Сортировать по:  Вернуться наверх
Начать новую тему Ответить на тему  [ Сообщений: 13 ] 

Часовой пояс: UTC + 3 часа


Кто сейчас на форуме

Сейчас этот форум просматривают: нет зарегистрированных пользователей и гости: 42


Вы не можете начинать темы
Вы не можете отвечать на сообщения
Вы не можете редактировать свои сообщения
Вы не можете удалять свои сообщения
Вы не можете добавлять вложения

Найти:
Перейти:  


Powered by phpBB © 2000, 2002, 2005, 2007 phpBB Group
Русская поддержка phpBB
Extended by Karma MOD © 2007—2012 m157y
Extended by Topic Tags MOD © 2012 m157y